A8 Quattro Sedan V8-4.2L (BVJ) (2008)
Entertainment System Control Module: Locations
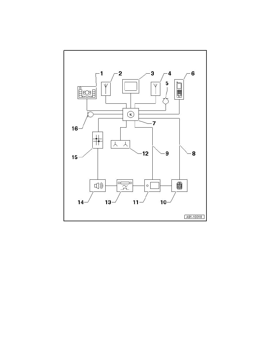
MMI Overview, From 1 June 2009
Communication System
MMI Overview, from 1 June 2009
14
Digital Sound System Control Module (J525) behind Left Luggage Compartment Side Trim
