Explorer AWD V8-4.6L (2010)
8. Use shielded heat gun to heat the repaired area until adhesive flows Out of both ends of heat shrink tubing.
9. Reconnect battery ground cable.
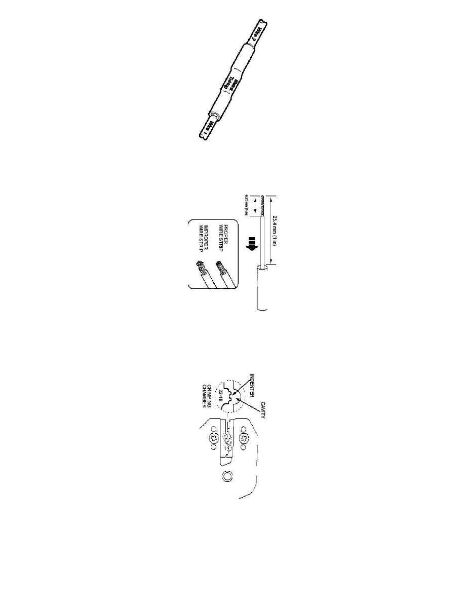
Recommended splicing method - Crimp (For 10-22 AWG Diameter Wire to Like Wire Diameter)
1. Disconnect battery ground cable.
2. Strip 6.35mm (1/4 in) of insulation from each wire end, taking care not to nick or cut wire strands.
3. Install heat shrink tubing.
NOTE: Use heat shrinkable tubes marked with ES-1 (16-22 GA) or ES-2 (10-18 GA) to seal wire splice.
4. Select appropriate wire splice for the wires to be spliced.
5. Identify the appropriate crimping chamber on the Rotunda 164-R5901 Pro-Crimper by matching the wire size on the dies with the wire size
stamped on the butt splice.
NOTE: Rotunda 164-R5901 Pro-Crimper is the only tool that can be used with these splices.
