ford Workshop Repair Guides

Ford Focus Workshop Service and Auto Repair Manuals

501-25B Body Repairs - Corrosion Protection > < Underbody Misalignment Check
Body Repairs - General Information - Body Repairs Focus 1999 (08/1998-12/2004)
Description and Operation

Introduction

The body plays a significant role in the increasing trend of ever more rapidly changing model variants. The different customer groups are strongly influenced by the design and shape of the body. At the same time the stability of the body plays the most important part in ensuring passenger and driver safety. Lightweight construction, alternative materials, composite materials, plastics and appropriate joining processes are all design features that characterise modern Ford vehicle bodies.

In terms of manufacturing technology, modern safety cell bodies can be produced almost without any problems. Ford guarantee high quality standards by ensuring that mechanical strength properties are tried and tested in numerous computer simulations, crash tests, by testing materials and by employing sophisticated manufacturing technologies. In the event of repairs it is vital that the production quality standards are upheld. This requires a well-equipped workshop, and places particular emphasis on the qualifications of the workshop technicians. Up-to-date knowledge of current manufacturing technologies and continuous training on new repair methods and techniques are vital for high-quality body repairs. The model-specific repair manuals and the general repair techniques provide valuable support when undertaking body repairs.

Introduction

Body development is becoming more and more complex, and as a result the topics covered in the body repair manual are changing. In future, only the most important repair methods and techniques will be described in the general section. Extensive knowledge of fundamental body repair techniques is assumed. For example, any repairs that are repeated will be covered for all vehicle models in the body-specific section. The model-specific sections of the repair manuals will only cover important repair steps or will point out special features. Specific training courses for new models will provide additional practical information as well as tips and tricks for body repairs.

Integral body-frame

The integral body-frame design has established itself in the car market.

Its main advantages are:

  • Maximum safety for driver and passengers.
  • Significant reduction in weight.
  • Economical manufacturing technology.

The integral body-frame is completed with assembly parts like doors, hood, bumpers etc. Once assembled, this design is particularly advantageous regarding stability and rigidity, featuring:

  • Stable passenger cell behaviour.
  • Exactly defined deformation behaviour at front and rear.
  • Additional lateral stability.
  • High torsional rigidity.
  • High flexural strength.

In the event of repairs the following repair instructions should be observed:

  • Only carry out straightening work with the complete body shell assembled.
  • Do not cut out bonded windows during straightening.
  • Keep the body free of stress.
  • If possible keep the body shell assembled during repairs.

Integral Body-frame Design

Design features of an integral body-frame

The safety of driver and passengers is paramount for every body design. There are two key safety aspects in the body:

  • Safety passenger cell
  • Crumple zones

Safety passenger cell

  • A safety passenger cell is characterised by the following design features:
    -
    Stable pillars, door sills and door profiles.
    -
    Integrated side impact protection in the doors.
    -
    The doors are designed to open even in the event of extreme deformation.

Crumple zones

  • A safety passenger cell is protected by front and rear crumple zones with well-defined deformation characteristics. The crumple zones serve the following purposes:
    -
    Dynamic absorption of deforming forces.
    -
    Protection of the passenger cell.
  • Always follow the repair instructions published in the workshop literature, particularly on repairs in the crumple zone. Failure to observe this instruction can result in serious impairment of vehicle safety, under certain circumstances. For instance, no cuts must ever be made in the immediate vicinity of the axle mounting fixing points, nor must any reinforcement plates be welded in randomly. All of the specified safety requirements must be met after the work has been carried out.

Crumple Zones - Safety Passenger Cell

 
Item
Part Number
Description
1
-
Crumple zone
2
-
Safety passenger cell

Off-road vehicles

Off-road vehicles differ from the integral body-frame principle in their 2-part body design.

An extremely stable chassis frame forms the base to which all vehicle components like axles, engine etc. are attached. The actual body is bolted onto the chassis frame. This design has the following advantages:

  • High pay load and large trailer capacity.
  • Excellent strength properties for off-road use.
  • Extremely high ground clearance.

If any repairs are to be carried out on an off-road vehicle then the following notes should be observed:

  • It is quite common for the two longitudinal members of the frame to be displaced parallel to one another.
  • If necessary the bolted-on body should be taken off before straightening the chassis frame.

Off-road Vehicle Design

 
Item
Part Number
Description
1
-
Body
2
-
Frame
3
-
Bolted connection

High-strength low alloy steel

General

  • High-strength low alloy steel is used on Ford bodies mainly for beams, joining plates, mountings and struts.
  • The model-specific chapters explain where high-strength low alloy steel is used.

Special features of high-strength low alloy steel:

  • Stronger tendency to retain deformed shape.
  • More force is required for straightening work.
  • As a result of the tendency to retain the deformed shape, any deformed components need to be pulled well beyond straight when working on a straightening jig.
  • Any tools used to remove metal from the surface (e.g. weld-spot mill) have a reduced life expectancy because of the higher degree of hardness.
  • Do not apply heat during straightening work, as losses of mechanical strength can occur already at temperatures of approx. 400° C.
  • Bake-hardening steel achieves its final hardness during production when it is placed into the paint drying oven.

Type of steel Special properties Low alloy thin sheet metal - electrolytically galvanised thin sheet metal - zinc - zinc-nickel Flame galvanised thin sheet metal - zinc plated - Galvannealed - Galfan - aluminium-galvanised
High-strength low-alloy steel Very good plasticity on complex pressed panels or low stability areas (e.g. inner door panel or wheel housing) 180 180
Bake-hardening steel Good plasticity; additional surface hardness is achieved in combination with heat treatment (painting) (e.g. flat parts like outer door panel or hood). 180. 220. 260. 300 180. 220. 260
Phosphor-alloyed steel Good elasticity on pressed parts in moderate stability areas (e.g. wheel housing) 220. 260. 300 220. 260. 300
Micro-alloyed steel High degree of rigidity for weight-bearing body components 260. 300. 340. 380. 420. 460 340. 380. 420
Isotropic steel Good elasticity in moderate stability areas as a result of high stretching capacity and isotropic deformation properties (e.g. flat parts like outer door panel, hood) 220. 260 260. 300. 340

Table: Minimum stretch limit for high-strength low alloy steel in N/mm 2

High-strength low alloy steel (example: Mondeo)

Anti-corrosion protection

For additional information, refer to Section  502-25B .

Accident damage and diagnosis

General notes

  • Exact diagnosis of the extent of damage enables proper repair planning.
  • Do not weld in any extra reinforcing plates.
  • All body repairs must be carried out in accordance with the guidelines in the Body Repair Manual.
  • The stability and strength properties of the body must be taken into account during body repairs. Integral body frames have exactly defined deformation patterns that must not be affected by any repair work.
  • For instance, the crumple zones absorb the bulk of the impact energy. If any unprofessional repair techniques or methods are used in these areas then this can pose a fundamental threat to vehicle safety.

Hidden damage

  • As well as looking at external indicators like flaked off paint, it is vital to check for hidden body damage or deformation that is not visible from the outside. Large attached parts like bumpers and inner fenders often need to be removed to allow accurate assessment of damage to underlying body parts.

Pre-determined folding points

  • The pre-determined deformation points should always be checked when assessing body damage. Pre-determined deformation points take the initial force of the impact, and are designed as "cross-sectional weaknesses" which are achieved by partial joggling or by other means of shaping.

Pre-determined deformation points by special shaping of the body panels

Pre-determined deformation points by the use of different material thicknesses

 
Item
Part Number
Description
1
-
Material thickness 2.0 mm
2
-
Material thickness 3.0 mm
3
-
Material thickness 1.75 mm

Node welds

  • Node welds are key points in the body shell of a vehicle. Indications of damage such as flaking paint in the area of node welds are often a clear sign of substantial damage. For this reason all body parts attached at a node weld must be checked very carefully for any sign of damage when assessing the damage.

Flow of forces around node welds

Gap dimensions

  • Gap dimensions offer another alternative for diagnosis by visual inspection. If any changes or misaligned edges are apparent, then this usually indicates that the dimensions of the affected part are incorrect.

Changes in gap dimensions

 
Item
Part Number
Description
1
-
Gap too wide
2
-
Gap too narrow

Impact effects on the body

  • NOTE:
    NOTE:Vehicle components like drive shafts and trailer attachments transfer forces. If a vehicle is subjected to a rear impact then all connected body parts and mechanical components (e.g. transmission mountings) should be thoroughly checked. Electronic components should be checked to ensure that they still operate correctly.
    Furthermore it is possible to deduce the overall extent of damage from the direction and magnitude of the impact forces. This does however require extensive body-specific knowledge.
  • If, for instance, an impact occurs at the front left-hand side member, then the right-hand side member is usually also affected as a result of the rigid body-shell design (crossmember). Often the length of this side member will not have changed, but because of the rigid body-shell design it may have moved from its original position (often only by a very small amount). If any deviations are present this can usually be detected by checking the gap dimensions between door and fender or by checking for changes in dimension.
  • In the case of more severe impacts, the front part of the body cannot absorb all of the impact energy, and the passenger cell is also deformed. Here the impact energy is transferred via the side member to the A-pillar (see diagram). This results in deformations in the area of the roof and the door sill.
  • The body reacts quite differently to side impacts where there is hardly any crumple zone. As the passenger cell is extremely stable, there are comparatively few local deformations at the site of the impact. However, the impact forces are transferred to the entire vehicle floor, which often results in so-called "banana damage", where the vehicle is bent into a banana shape across the length of its longitudinal axis.

Impact energy is transferred via the side member to the A-pillar

 
Item
Part Number
Description
1
-
Deformation area - roof rail
2
-
Deformation area - roof
3
-
Deformation area - door sill

Measuring the underbody

  • Measurements with a compass
    -
    The compass is a very useful instrument for checking the vehicle underbody. It can be used to detect dimensional variations across the length and the width (but not the height) by means of comparison measurements and diagonal measurements. For this purpose, always select body reference points from the data sheet for body frame dimensions.

Symmetry measurements with a compass

Body measurements

  • Measuring options
    -
    Comparison measurements can also be made on the outside of the body. Depending on the damage, comparison measurements and diagonal measurements can be carried out using compass, telescopic rod, tape measure or ruler.
    -
    NOTE:
    NOTE:The same reference points must be chosen on both sides when checking for changed dimensions (e.g. bores, edges, beads/swage lines etc.).
    All of the important external body dimensions are listed in the model-specific body repair descriptions.
  • Measurements with a measuring/straightening jig
    -
    A measuring/straightening jig is required for accurate measurements of the floor pan of the body. The measuring systems are categorised by their means of operation:
    -
    Mechanical measuring system
    -
    Optical measuring system
  • Quick and accurate measuring results can be obtained using computerised measuring systems.
  • A minimum of three intact measuring points on the floor pan are required for measurements of length, width and height dimensions.
  • In some cases this may mean making the measuring points accessible. All of these measuring systems can be used to make body measurements, provided all the equipment is available.

Measuring fixture for body measurements

 
Item
Part Number
Description
1
-
Base frame
2
-
Measuring bar
3
-
Telescopic measuring rod with measuring probe
4
-
Measuring bridge

Alignment jig

Planning a repair

The following decisions have to be made before the repairs are started:

  • Does the vehicle need to be put on a straightening jig, or can it be straightened by other means?
  • Does the floor pan need to be measured?
  • Do aggregates like engine or axles need to be removed?
  • NOTE:
    NOTE:It is preferable to repair body parts rather than to renew them, as this keeps the complete body-shell intact.
    Which body parts need to be renewed?
  • Which body parts can be repaired?

Obtaining spare parts

The availability of spare parts often determines how easily the body repairs can be carried out. The following procedure is recommended:

  • Obtain all the data for the vehicle, including type, vehicle identification number, trim code, engine identification letters, initial registration etc.
  • Establish all of the metal parts that need to be renewed.
  • Establish all of the attached parts that need to be renewed, including small parts like rivets, clips etc.
  • After receiving all of the spare parts, check them on the vehicle to make sure they are correct and complete.

Straightening repairs

Straightening repairs are often required to restore the body to its original shape after an accident. This can be done with:

  • Alignment jigs
  • Universal straightening and measuring jigs
  • Welding jig system

The following points must be followed to ensure that the repairs are carried out professionally and that all the dimensions are correct after the repairs have been carried out.

  • Structure:
    -
    The repair sequence depends on the individual repair plan (taking any necessary disassembly work into account).
    -
    Clean the attachment areas.
    -
    Anchor the vehicle free of stress on the relevant system.
    -
    Support the aggregates to take strain off the body.
    -
    Decide on at least three measuring/mounting points that are undamaged and as far apart as possible (for basic adjustment).
    -
    Check the dimensions of the measuring/mounting points.
  • Straightening:
    -
    NOTE:
    NOTE:Check dimensions and gaps continuously during straightening.
    A body is always straightened in the opposite direction to that of the impact. Always carry out straightening repairs with the complete body shell assembled (do not cut out any parts beforehand). Carry out the straightening work in several stages. This prevents the risk of overstretching or of welded joints tearing out. During the individual straightening steps, relieve tension by striking with an aluminium hammer while the part is subjected to a tensile load (in the area of pre-determined folding points, dents, welded joins etc.).
  • Special features:
    -
    High-strength low alloy steel has a greater tendency to retain its deformed shape.
    -
    If necessary, open doors or hood during straightening.
    -
    Never apply heat during straightening.
    -
    Follow the instructions in the chapter "Protective Equipment/Safety at Work".

Cutting out body parts

Depending on how the parts are joined/connected, different tools are suitable for cutting/separating body parts.

  • NOTE:
    NOTE:All other parts like interior equipment, window glass etc. must be protected against flying sparks.
    NOTE:
    NOTE:Ensure that the milling depth is set correctly to prevent the remaining flange from being weakened.
    Spot-weld mill

Spot-weld mill

  • Rod sander
    -
    NOTE:
    NOTE:Wear protective clothing. Protect any vulnerable body or glass areas against flying sparks. Remove explosive materials from the vicinity.
    Any spot welds that are inaccessible for the spot-weld mill (diameter > 8 mm) should be ground out using a rod sander. The same applies to MIG spot welds or seams.

Rod sander

  • Severance cuts
    -
    NOTE:
    NOTE:Underlying metal parts, wiring harnesses, hoses etc. must not be damaged - remove them beforehand if necessary.
    Body saws are particularly versatile and are therefore very suitable for making severance cuts on body parts.
  • Short stroke saw
    -
    Body parts are usually separated with a short stroke saw. It proves to be very flexible even in areas where access is very limited.

Short stroke saw

  • Reciprocating saw
    -
    In addition to the short stroke saw, the reciprocating saw can be used. With this, it is possible to make narrow and straight cuts to an exact depth.
    -
    The lifetime of the blade can be substantially increased by cooling it with oil. Any swarf caused by sawing must always be removed from cavities (using suction) to prevent the risk of corrosion.
    -
    If there are any brazed connections on the part that is to be cut out, then use a welding torch to heat them evenly until the brazing solder melts. Then peel off the old part.

Reciprocating saw

Carrying out the repairs

  • Complete replacement
    -
    In a complete replacement the entire damaged old part is removed at its original joins/connections, and a complete new part is then installed. The following illustration shows a replacement with a new back panel (Mondeo).

Replacement with a new back panel (Mondeo)

  • Sectional replacement
    -
    In many cases it makes technical and economical sense to carry out a sectional replacement. The two main considerations are firstly, maintaining the original overall body shell structure and secondly, keeping the repair costs to a minimum.
    -
    There are three different methods for sectional replacement:
  • Butt joints
    -
    New part and old part are joined with a continuous MIG weld seam.
    -
    Butt joints are most commonly used for sectional replacements on members and pillars, or on short severance cuts.

Butt joint

  • Edge-setting
    -
    NOTE:
    NOTE:Although the width of the set edge is 12 mm, only 10 mm should be given as material allowance on the new part. This automatically produces the required welding gap between the set edge of the old panel and the edge of the new panel. For corrosion protection reasons, the set edge created is shortened to 6 mm before inserting the new part.
    Edge-setting is mostly done on the old part which is still attached. The old part and the new part are joined by an intermittent seam.

Edge-setting

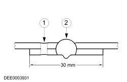
  • Metal backing strip
    -
    A metal backing strip (approx. 30 mm wide) from the left-over old part or new part is spot welded to the back of the join.
    -
    NOTE:
    NOTE:Edge-setting or metal backing strips are most commonly used on longer severance cuts.
    NOTE:
    NOTE:The severance cuts should always be kept as short as possible on sectional replacements. Only cut at the severance lines shown in the model-specific chapters.
    Do not make any cuts near reinforcements or pre-determined folding lines.
    -
    NOTE:
    NOTE:Do not start cutting out the old part until the new part has arrived (repair sections can vary in size).
    Special repair sections are available for sectional repairs, and they are listed separately in the Spare Parts microfiche.

Metal backing strip

 
Item
Part Number
Description
1
-
Resistance spot weld
2
-
MIG welded intermittent seam

Example

Repair panel sections - Ford Ka

Sectional replacement - side member, Ford Puma

  • Prepare parts remaining on the vehicle / new parts.
    -
    Reshape the adjoining surface of any dented body parts that are to remain on the vehicle using a hammer and a counterhold (ensure that the old part matches the shape of the new part). Grind off left over spot welds or seams with an angle grinder.
    -
    Cut the new parts to shape.
    -
    If necessary punch or drill holes for spot welding.
    -
    NOTE:
    NOTE:Do not use a welding torch to remove paint residue (the heat could cause the metal to deform).
    Grind all joining flanges to bare metal on both sides. Do not use an angle grinder for this purpose (this could weaken the metal and damage the zinc layer). Suitable tools: rotating wire brush, belt sander or plastic disc.
    -
    Except for brazed joints, apply welding primer liberally to all weld flanges.
    -
    The primer must be well stirred before use.
NOTE:
NOTE:When using aerosols, take care not to contaminate adjacent parts with spray mist.
NOTE:
NOTE:For additional information, refer to subsection 501-25B "Body Repairs - Corrosion Protection".

Fit the new part.

  • It must be ensured that the new part fits exactly to the specified dimensions. Suitable equipment:
    -
    Alignment jig
    -
    Universal measuring system
    -
    Jig system
    -
    Ruler or tape measure
    -
    Compass
    -
    Frame dimensions can be found in the model-specific repair manuals.
  • NOTE:
    NOTE:Any attached body parts that require accurate alignment and fitting must be incorporated in this step; for instance bumpers, seals, headlamps, rear lamps and lock assembly components. If this is not done carefully it may result in water leaks, wind noises and substantial follow-on work.
    Ensure that edges line up with adjacent parts and check that gaps are consistent (compare left and right-hand sides). Make sure that the shape of the vehicle is retained.

Secure the new part

  • NOTE:
    NOTE:The need for subsequent follow-on work can be significantly reduced if aligning and tack-welding are carried out with due care.
    Depending on accessibility the following methods for securing are available:
    -
    Grip pliers (set of)
    -
    Screw clamp (set of)
    -
    Self-tapping screws
    -
    Tack welds
  • Use a staking tool or a screwdriver to ensure that the edges of sectional replacements of profiled parts line up. The edge is then tack welded to ensure that it lines up.

Aligning and tack welding

 
Item
Part Number
Description
1
-
Tack welds
2
-
Using a screwdriver to align
  • Longer joins are usually tack welded to prevent the panel from warping. It is important to carry out the tack welds in the correct sequence (see diagram).
  • Weld in the new part following the instructions in the repair manual. Read and observe the notes in the chapter "Welding and Soldering Repairs".

Correct tack welding sequence

Follow-on repairs/corrosion protection

Panel beating

Types of steel used in body manufacture

  • Vehicle bodies are manufactured using thin steel with a thickness ranging from 0.5 to 2.75 mm. There are two main types:
    -
    Pressed steel quality body panels
    -
    High-strength low alloy steel
  • Pressed steel quality body panels:
    -
    These body panels are softer and more easily mouldable. They stretch extremely well and therefore are not susceptible to unwanted cracking.
  • High-strength low alloy steel:
    -
    High-strength low alloy steel is much stiffer to mould or otherwise work on than for instance steel ST14. It also has a higher stretch limit.

Fundamentals of panel beating

  • Before carrying out any sectional replacements or complete replacements of body panels, always check carefully whether the damaged panel(s) can be rectified by panel beating.
  • Panel beating is usually the easiest and most economical method of repairing a damaged panel.

Examples of applications of different panel beating techniques:

  • Aluminium hammer and mallet
    -
    Advantage: Low risk of overstretching the panel.
    -
    Used for repairs of small dents on panels that are accessible from both sides.
    -
    These two panel beating tools are usually used for "finishing repairs".

Fine straightening with an aluminium hammer and a universal dolly

  • Sliding hammer
    -
    If the damaged panel is only accessible from the outside, use a sliding hammer to pull it back into shape. The discs or studs needed to mount the sliding hammer are welded onto the bare surface. Dents in the panel can be flattened out using controlled application of the sliding hammer.

Heat-treatment of panels

  • It is usually inevitable that some parts of the body panels show excess material as a result of mechanical strain. If there are any areas of excess material this will cause localised instabilities due to differences in tension. These localised instabilities can be stabilised by applying heat-treatment techniques.
  • NOTE:
    NOTE:This rule does not apply to high-strength low alloy steel.
    Rule: Flattening panels by heat-treatment reduces the amount of excess material by more than they were originally stretched.

Different heat-treatment techniques

NOTE:
NOTE:Different heat-treatment techniques are used depending on the amount of excess material.
  • Flattening using a flame
    -
    A welding torch is used if the material excess extends over a larger area (torch size 0.5 - 1.0 mm). Use a soft flame.
    -
    The surface of the metal is briefly spot-heated and then immediately cooled with a wet sponge.
    -
    Requirement: Ability to handle a welding torch safely and knowledge of annealing colours of steel.
    -
    Advantage: No damage to the surface of the metal.
  • Flattening using a flame, supported by hammer and counterhold
    -
    NOTE:
    NOTE:The flattening effect is increased by speeding up the heating and cooling stages.
    If the material excess is concentrated, then the flattening effect can be increased after heating by carefully using an aluminium or wooden hammer.
    -
    Requirement: Ability to recognise material tension by feeling the surface that is to be flattened.
  • Flattening using a carbon electrode
    -
    If panel areas are only accessible from one side, or the panel is only slightly destabilised, then the preferred method is flattening using a carbon electrode.
    -
    Requirement: Bare metal surface.
    -
    Disadvantage: Scarring and hardening of the surface.
  • Flattening using a copper electrode
    -
    Small, sharp dents that face outwards can be worked on with a copper electrode.
  • Flattening using a flame and body files
    -
    NOTE:
    NOTE:When applied correctly, this method can be used with all the attached parts still in place (roof headlining, wiring harnesses etc.).
    Small, soft dents (only slight stretching): Working at the edges of the dent in an inward spiral pattern, the dent is heated with an oxyacetylene torch (torch size 1 - 2 mm, excess gas flame) to approx. 250° C.
    -
    Working rapidly with a body file extracts heat from the edge area until the dent is flattened. Preferably alternate between two files. This increases the amount of heat that can be extracted.

Lead loading of panels

  • Lead loading is the best repair method for smoothing joins on sectional repair joins or for rectifying small uneven areas on a panel surface.
  • Advantages:
    -
    Excellent bonding on bare metal surfaces.
    -
    Very good moulding properties.
    -
    Good properties for re-shaping.
    -
    Permanent shape.
    -
    Heat expansion is the same as steel.
  • NOTE:
    NOTE:Tin alloy: PB 25% / 75%. Use an extraction unit. Breathing equipment.
    Process: Hammer the applied lead loading before finishing it to remove air bubbles.

Welding and soldering repairs

Safety measures

  • NOTE:
    NOTE:Refer to the notes in the chapter "Protective Equipment/Safety at Work".
    Disconnect the battery negative terminal and cap the terminals in order to protect the electronic modules in the vehicle (ABS, airbag etc.).
  • Do not allow electronic units or lines to come into contact with the ground connection or the welding electrode.
  • Remove the battery before carrying out welding work in its vicinity.
  • Utmost care must be taken when welding near the fuel tank or other components that contain fuel. If the tank filler neck or a fuel line must be detached to allow access for welding work, then the fuel tank must be drained and removed.
  • Never weld, braze or solder on components of a filled air conditioning system. The same applies if there is a risk of the air conditioning system heating up.
  • Connect the ground connection of the electrical welder directly to the part that is to be welded. Ensure that there are no electrically insulating parts between the ground connection and the welding point.
  • Adjacent vehicle parts and adjacent vehicles must be shielded against flying sparks and heat.

Resistance spot welding

90% of welding in production is done by resistance spot welding. As a rule, the joining technique used in production should also be used for repairs. The number and diameter of repair spot welds must be the same as in production. Alternative joining techniques must only be used in exceptional cases.

Setting up the equipment and co-ordinating the welding parameters

  • Equipment:
    -
    Follow the equipment manufacturer's instructions for the equipment settings.
    -
    Select the correct electrode arms (as short as possible).
    -
    Align the electrode arms and tips exactly.
    -
    Electrode tips should be convex (rough shaping with a file, fine shaping with a sanding block).
  • Body:
    -
    Ensure that the flanges to be joined lie perfectly flat to one another.
    -
    Prepare a bare metal joint surface (inside and outside).
  • Notes on technique/method:
    -
    Carry out a test weld on a sample piece of the material coated in welding paste.
    -
    If any metal parts are located between the electrode arms then there will be a loss of induction and therefore power (adjust current setting).
    -
    The power needs to be adjusted for high-strength low alloy steel.
    -
    Repeated welding on old welding points often leads to poor quality welds.
    -
    Keep the electrode tips as near as possible to an angle of 90° to the contact surface.
    -
    Keep the pressure on the electrodes for a short period after finishing the weld.
    -
    NOTE:
    NOTE:Cool the electrodes in water after about 10 spot welds to ensure that the welding results are consistent (not necessary on cooled electrodes).
    The electrodes work best if their shape is convex. Clean the contact surface of the electrodes regularly.

Resistance spot welding panels where the total thickness is 3 mm or more

For all repairs to modern Ford vehicles, spot-welding equipment should be suitable for reliable welding of zinc-plated, high-strength and high-tensile steels in three or more layers, up to 5 mm total thickness. If these requirements are not fulfilled, puddle welding must be used for safety reasons. The electrical specifications (current, resistance, heat) of the spot-welding equipment have different validity, depending upon the type of equipment. Therefore, it is essential that the manufacturer's instructions are observed with regard to the actual welding performance.

MIG / MAG welding

Setting up the equipment and co-ordinating the welding parameters

  • Any joins that are MIG/MAG welded in production must also be MIG/MAG welded during repairs. Also during repairs, some resistance spot welds need to be replaced by puddle welds.
  • If access is difficult, or if a suitably powerful spot welder (see above) for total panel thicknesses of 3 mm or more is not available, resistance spot welding must be partially replaced by puddle welding during repairs. In this case, the increased time needed and the correspondingly more demanding corrosion protection requirements, must be taken into account.
  • Welding repairs can only be carried out properly if the equipment is set up correctly and all the welding parameters are co-ordinated.
  • Equipment:
    -
    Set up the equipment as directed by the manufacturer.
    -
    The hoses must be untwisted.
    -
    The core must be free of abraded rod particles.
    -
    The gas and current nozzles must be free of slag and scale residue.
    -
    Pay attention to the quality of the welding rod and the throughput of gas.
  • Body:
    -
    Ensure that the joint surface is perfect.
    -
    Prepare a bare metal joint surface.
    -
    Maintain the correct gaps (formation of roots).
  • Notes on technique/method:
    -
    NOTE:
    NOTE:The increased application of heat during MIG welding destroys the welding primer/zinc layer over a much larger area than during resistance spot welding, as a result of which much more care needs to be taken when applying anti-corrosion protection afterwards.
    NOTE:
    NOTE:A test weld should always be carried out to ensure that the welded joint is not just a surface connection.
    Attach the ground cable right next to the welding point (ensure that good contact is made).
    -
    During puddle welding start welding on the lower panel to ensure adequate penetration.

Puddle welding

 
Item
Part Number
Description
1
-
Welding direction: circular pattern working from the inside outwards
2
-
Welding starting point: centre of hole on lower panel

Brazed connections

  • Never replace production brazed connections with any other type of connection.
  • NOTE:
    NOTE:Remove all traces of flux residue to prevent risk of corrosion.
    Brazed connections require particularly careful preparation. It is extremely important that the joint surfaces are exactly aligned and that a bare metal joint surface is prepared.

Bonded connections

Adhesive technology is finding more and more applications in modern vehicle construction. Some areas of the body are increasingly affected. All bonded connections must be remade during repairs.

  • Application and safety instructions
    -
    Always follow the handling instructions supplied by the manufacturer when using adhesives or sealants.
    -
    NOTE:
    NOTE:Observe the manufacturer's safety instructions.
    Adhesives are chemicals and as such are subject to specific safety regulations.
  • Bonded clinched flanges
    -
    The bonded clinched flanges of the hood, tailgate and doors are bonded in production and during repair on many Ford models.
    -
    These bonds are mainly for sealing purposes (anti-corrosion) rather than for adhesive strength.
  • Bonds that rely on adhesive strength
    -
    Adhesive bonds that rely on adhesive strength are used for adhesive strength purposes, sealing purposes and anti-corrosion purposes (e.g. Escort/Orion '91 in the rear region of the roof, near the transition to the C-pillar).
    -
    The adhesive used for this purpose is 2K epoxy resin.

Adhesive bonding of the outer roof skin (Escort '91)

  • Bonded glazing
    -
    On nearly all models, the windscreen is bonded directly onto the window frame on the body. In addition, the side and rear windows are bonded on most model variants.
    -
    The windows are bonded primarily for reasons of adhesive strength. Bonded glazing provides additional torsional stiffness to the body.

Adhesive bonding of bonded windows

 
Item
Part Number
Description
1
-
Rubber strip
2
-
Window frame
3
-
Adhesive
4
-
Window glass

Removing and installing bonded windows

Safety measures

  • The following safety measures must always be followed to prevent personal injury:
    -
    Wear protective gloves.
    -
    Wear protective goggles.

Preparations

  • Before cutting out a bonded window, undo and remove any attached parts in the cutting area that are at risk, e.g. trim panels and decorative strips, as well as all electrical connections.
  • Mask any painted areas that are adjacent to the window.
  • Cut off any surplus adhesive, as this makes it easier to cut out the window.
  • Secure vertical windows against dropping out.

Cutting out the window

  • Cut into the adhesive bead at easily accessible points using the cutting tool.
  • Carefully guide the cutting tool around the window, cutting through the adhesive bead.
  • Avoid touching the window frame and the body flange.
  • Use cup suction tools to lift the cut-out window out of the window aperture.

General preparations for bonding

  • Follow the manufacturer's instructions.
  • Cut back the remaining adhesive bead on the metal flange to a residual height of about 1mm. Do not touch or clean the cut surface afterwards.
  • Carefully rectify any paint damage (apply primer and top coat).
  • Renew the window stops as necessary.

Bonding the window glass

  • Apply an even bead of adhesive to the window or to the body flange.
  • Insert the window glass into the window aperture and centre it (2 technicians required).
  • Check the gaps.
  • NOTE:
    NOTE:Open the windows and doors while the window is left to dry and do not move the vehicle (slamming doors creates excess pressure which could cause the window to become loose).
    Use adhesive tape to prevent the window from falling out or slipping.

Finishing operations

  • Reconnect all electrical connections and check that the components operate correctly.
  • Install the attached parts and check that the fit is accurate and secure.
    -
    Carry out a visual inspection to ensure that the gaps and joints are even.
  • Thoroughly clean the window glass.

Special body repairs

Convertible

  • The body of a convertible is considerably different to a saloon. These differences not only apply to its looks and functionality. Constructional reinforcements are needed to achieve the required stability.
  • An enclosed body shell design is not possible as there are no roof rails. Therefore, other means are used to ensure that a convertible is sufficiently stable, particularly with regard to its torsional rigidity. This is achieved by making constructional changes to existing saloon body parts and by installing additional strengthening parts.

Reinforcements to the door sill area

  • NOTE:
    NOTE:If a damaged vehicle is placed on the straightening jig with all its aggregates still in place, then the body needs to be supported to take some of the load.
    The following design features should be noted during body repairs:
    -
    Higher material thickness for instance in the door sill area.
    -
    Different behaviour during straightening.
    -
    Particularly high fitting accuracy is required for example on the convertible roof mounting points.
  • The fit of the convertible roof and its adjacent body parts must be checked during and after repairs to ensure that it is water tight, free of wind noises and closes properly.

Off-road vehicles

  • NOTE:
    NOTE:If the body is bolted to the chassis then all of the bolted connections between body and chassis must be checked for damage during straightening work.
    NOTE:
    NOTE:The body must be lifted off the chassis if the damage to body and chassis is more serious. Both parts are then straightened separately.
    Off-road vehicles consist of a weight-bearing chassis, onto which the body is bolted.
  • If any straightening work becomes necessary during repairs, then special universal mounting sets or alignment jigs are used.

Protective equipment and safety at work

  • Various safety measures and legal requirements must be met when carrying out repairs. All regulations relating to health and safety at work must be followed.

Welding safety precautions

  • The following safety precautions must be observed to prevent the risk of personal injury:
    -
    Safety hood (face protection)
    -
    Welding shield
    -
    Safety gloves
    -
    Safety shoes
    -
    Extraction unit for welding smoke
  • Welding should always be carried out in well ventilated areas. A fire extinguisher must also always be within reach.

General body repair safety measures

Extraction unit

  • Sealing compound, underbody protection etc. must not be burned off with a naked flame. This would produce toxic gases. If for instance PVC is burned, then gases containing hydrochloric acid are produced. For this reason a suitable extraction unit should always be used when performing grinding, welding or soldering work.
  • Always ensure good ventilation when working with materials that contain solvents, wear breathing equipment and use an extraction unit.
  • Ear defenders should always be worn when cutting, grinding or straightening metal, as the noise levels can reach or even exceed 85 - 90 dB(A).
  • Take care not to look directly into any laser measuring systems, for instance used to measure the floor pan.
  • When removing components from a vehicle mounted on a lifting ramp, watch out for a shift in its centre-of-gravity. When first placing the vehicle on the ramp, take into account that it may need to be secured against tipping over.
  • Chains and chain clamps must be secured with safety ropes during straightening work.

Safety rope

501-25B Body Repairs - Corrosion Protection > < Underbody Misalignment Check