ford Workshop Repair Guides

Ford Workshop Service and Repair Manuals

Crankshaft Rear Seal > < Cylinder Head
Engine - 1.6L Duratec-16V Ti-VCT (Sigma) - Oil Pan Focus 2004.75 (07/2004-)
In-vehicle Repair

Special Tool(s)

Slide Hammer

205-047 (15-011)

Adapter for 205-047

303-633 (21-227)

General Equipment
Five M8 x 20 mm studs
Materials
Name
Specification
Engine oil
WSS-M2C913-A 
Sealant
WSE-M4G323-A4 

Removal

  1. Raise and support the vehicle.
    For additional information, refer to: Lifting (100-02 Jacking and Lifting, Description and Operation).
  1. Drain the engine oil.
    • Allow the oil to drain into a suitable container.

  1. Remove the Oil dipstick tube.

  1. Remove the transaxle lower retaining bolts.

  1. Remove the oil pan retaining bolts (engine shown removed for clarity).

  1. CAUTION:
    CAUTION:In order to prevent damage to the sealing surfaces, only use the designated special tool to remove the oil pan. Do not use a chisel or a screwdriver for removal.
    NOTE:
    NOTE:Tighten the lock nut against the oil pan and use several taps to release the oil pan from the cylinder block.
    Using the special tool, remove the oil pan.

Installation

  1. CAUTION:
    CAUTION:The oil pump gasket projects over the cylinder block sealing surface and must not be damaged.
    CAUTION:
    CAUTION:Do not damage the rubber sealing surface of the crankshaft rear seal carrier.
    Clean the engine cylinder block and oil pan mating faces with suitable metal surface cleaner.

  1. CAUTION:
    CAUTION:The crankcase may be damaged if sealant enters the blind holes.
    Install five M8 x 20 mm studs into the blind holes where shown.

  1. CAUTION:
    CAUTION:Install the oil pan within ten minutes of applying the sealant and tighten the bolts within a further 5 minutes.
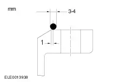
    Apply a 3 - 4 mm diameter bead of sealant to the oil pan flange.

  1. NOTE:
    NOTE:Do not tighten the oil pan retaining bolts at this stage.
    Install the oil pan (engine shown removed for clarity).
    • Remove the studs and install retaining bolts.

  1. Install the transaxle lower retaining bolts.

  1. Tighten the oil pan retaining bolts in the sequence shown in two stages (engine shown removed for clarity).
    • Stage 1: 10 Nm.
    • Stage 2: 20 Nm.

  1. NOTE:
    NOTE:Inspect the oil drain plug seal for damage. Install a new oil drain plug and seal if necessary.
    Install the oil drain plug.

  1. Install the Oil dipstick tube.
  1. Fill the engine with engine oil.

Crankshaft Rear Seal > < Cylinder Head