Ford Workshop Service and Repair Manuals
HOME
FEATURES
MENU
INDEX
ABOUT US
Wheel Spindle >
< Rear Suspension
Ikon 1999 (01.2000-)
Mechanical Repairs
2 Chassis / 204 Suspension
204-02 Rear Suspension
Description and Operation / Diagnosis and Testing
Removal and Installation
Beam Axle
Rear Suspension - Beam Axle
Ikon 1999 (01/2000-)
Removal and Installation
Removal
Loosen the parking brake cable.
Loosen the wheel nuts.
Raise and support the vehicle. For additional information, refer to Section
100-02 Jacking and Lifting
.
Remove the wheels.
Remove the center section of the exhaust system heat shield.
Remove the rear section of the exhaust system heat shield.
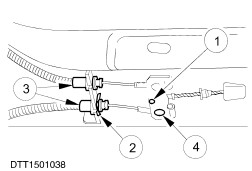
Detach the parking brake equalizer yoke.
Detach the primary cable from the equalizer yoke.
Remove the rear cable retaining clip.
Detach the rear cables from the retaining bracket.
Detach the equalizer yoke from the rear cable.
Detach the rear parking brake cables.
Detach the cables from the body clips.
Remove the clip retaining screws.
Detach the cables from the rear axle clips.
CAUTION:
Blank off the brake hoses when disconnected to prevent any dirt ingress.
Detach the flexible brake hose.
Detach the brake hose unions.
Allow the fluid to drain into a suitable container.
Remove the union retaining clip.
Loosen the strut and spring assembly lower retaining bolt (both sides.
Support the rear axle beam assembly.
Remove the axle beam mounting bracket (both sides).
Remove the strut and spring assembly lower retaining bolt (both sides).
Lower and remove the rear axle beam assembly.
Installation
NOTE:
The final tightening of the rear suspension components should be carried out when the vehicle weight is on the road wheels.
Locate the rear axle beam assembly.
Install the bolts finger tight.
Install the remaining components in the reverse order.
Install the parking brake cable starting from the rear of the vehicle.
Install the rear road wheels.
Lower the vehicle.
Bleed the brake system. For additional information, refer to Section
206-00 Brake System - General Information
.
Adjust the parking brake cable. For additional information, refer to Section
206-05 Parking Brake and Actuation
.
Mechanical Repairs
2 Chassis / 204 Suspension
204-02 Rear Suspension
Description and Operation / Diagnosis and Testing
Removal and Installation
Beam Axle
Wheel Spindle >
< Rear Suspension