300Tdi Defender Front Brake Caliper Assembly
BRAKES
9
REPAIR
FRONT BRAKE CALIPER ASSEMBLY
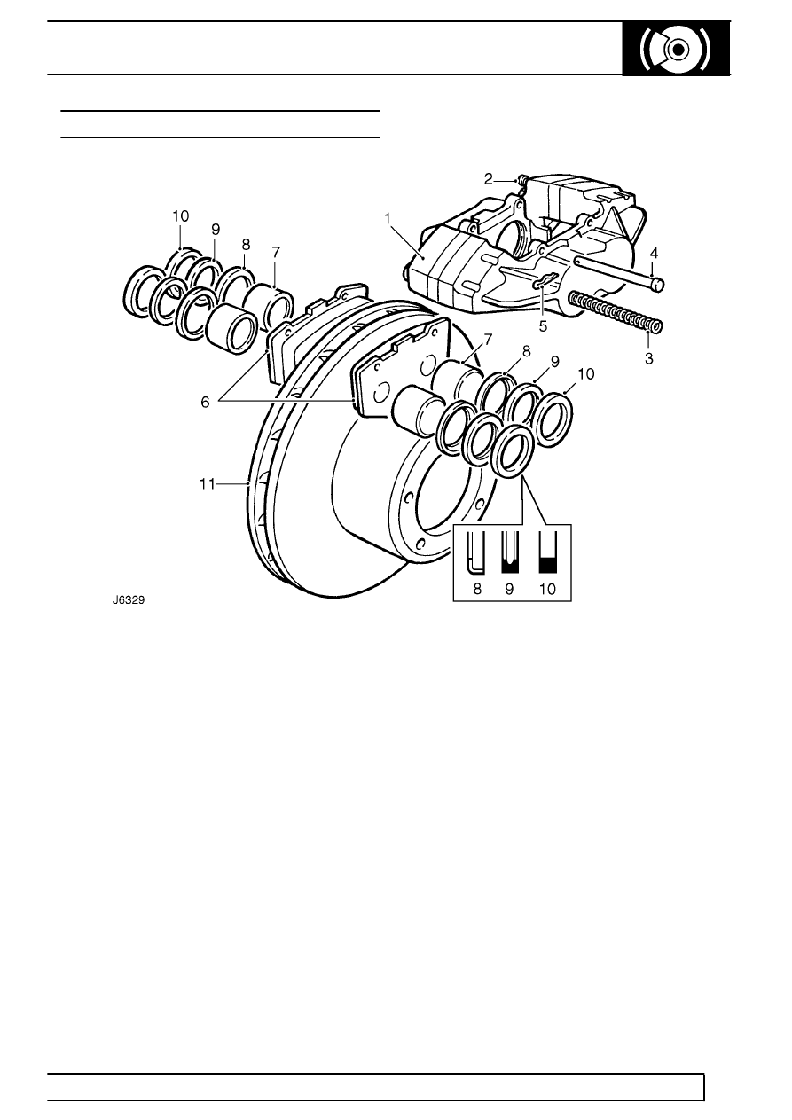
Key to caliper
1. Caliper
2. Bleedscrew
3. Anti-rattle springs
4. Pad retaining pins
5. Split pin
6. Friction pads
7. Piston
8. Wiper seal retainer
9. Wiper seal
10. Fluid seal
11. Brake disc
