Range Rover P38
BMW DIESEL
49
REPAIR
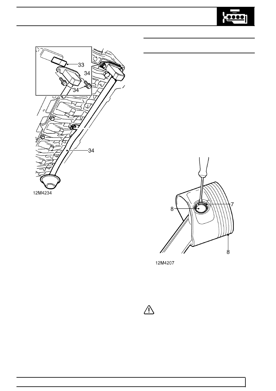
33. Position new seal to oil pump.
34. Fit oil pick-up pipe, fit 3 bolts and tighten to
10
Nm (7 lbf.ft)
35. Fit sump.
See this section.
PISTONS, CONNECTING RODS AND CYLINDER
BORES
Service repair no - 12.17.03
Remove
1. Remove cylinder head.
See this section.
2. Remove big-end bearings.
See this section.
3. Push piston and connecting rod to top of cylinder
bore, remove piston and connecting rod.
4. Suitably identify piston and connecting rod to its
cylinder bore.
5. Repeat above procedure for remaining pistons
and connecting rods.
Pistons and connecting rods - dismantling
6. Remove and discard piston rings.
7. Remove and discard snap rings retaining
gudgeon pin.
8. Remove gudgeon pin, remove piston from
connecting rod.
CAUTION: Keep each piston, gudgeon pin
and connecting rod together as a set.
