Range Rover P38
75
SUPPLEMENTARY RESTRAINT SYSTEM
NEW RANGE ROVER
14
DESCRIPTION AND OPERATION
WARNING: If the location lugs on the back
of the module casing are damaged or
missing, the module should not be used.
Dispose of using the controlled procedures
detailed in this manual.
WARNING: If a new side airbag module
shows any sign of damage, DO NOT USE.
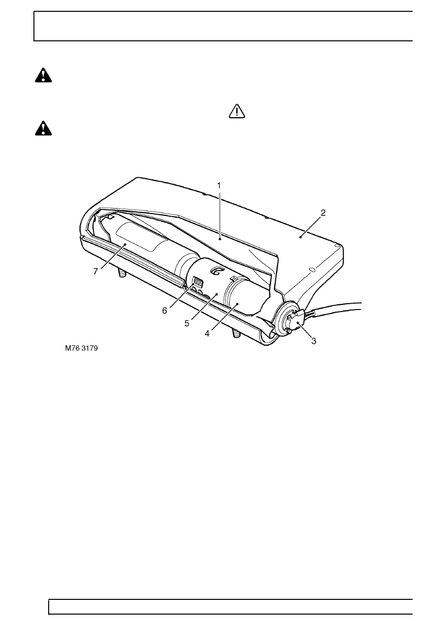
The side airbag modules have a flying lead which
terminates in a yellow 2-pin connector. The connector
connects to the DCU via the main harness and is
located beneath the seat cushion.
CAUTION: Do not try to remove the
connector at the module end, it is a
permanent connection.
1. Folded nylon bag
2. Case
3. Electrical connector
4. Nitrocellulose chamber (containing squib)
5. Mixing chamber
6. Filter / gas release port
7. Nitrogen / Argon chamber
