Mazda Workshop Service and Repair Manuals
HOME
FEATURES
MENU
INDEX
ABOUT US
Keyless Entry Module|Service and Repair >
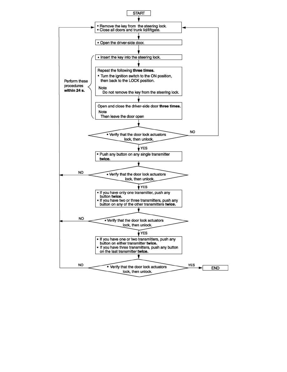
< Symptom Related Diagnostic Procedures|Page 6883
6 L4-2.5L (2010)
Accessories and Optional Equipment
Antitheft and Alarm Systems
Keyless Entry
Keyless Entry Module / Component Information
Testing and Inspection / Symptom Related Diagnostic Procedures
Page 6884
Page 4
Accessories and Optional Equipment
Antitheft and Alarm Systems
Keyless Entry
Keyless Entry Module / Component Information
Testing and Inspection / Symptom Related Diagnostic Procedures
Page 6884
Keyless Entry Module|Service and Repair >
< Symptom Related Diagnostic Procedures|Page 6883