Mazda Workshop Service and Repair Manuals
HOME
FEATURES
MENU
INDEX
ABOUT US
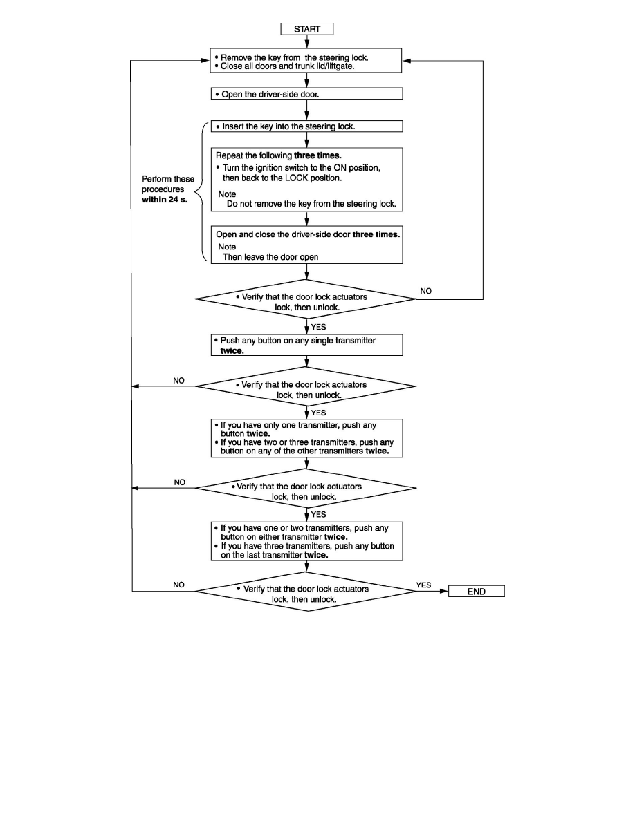
Keyless Entry Module|Service and Repair >
< Symptom Related Diagnostic Procedures|Page 71
6 L4-2.5L (2010)
Relays and Modules
Relays and Modules - Body and Frame / Keyless Entry Module / Component Information
Testing and Inspection / Symptom Related Diagnostic Procedures
Page 72
Page 4
Relays and Modules
Relays and Modules - Body and Frame / Keyless Entry Module / Component Information
Testing and Inspection / Symptom Related Diagnostic Procedures
Page 72
Keyless Entry Module|Service and Repair >
< Symptom Related Diagnostic Procedures|Page 71