6 L4-2.5L (2010)
Substitution SST
-
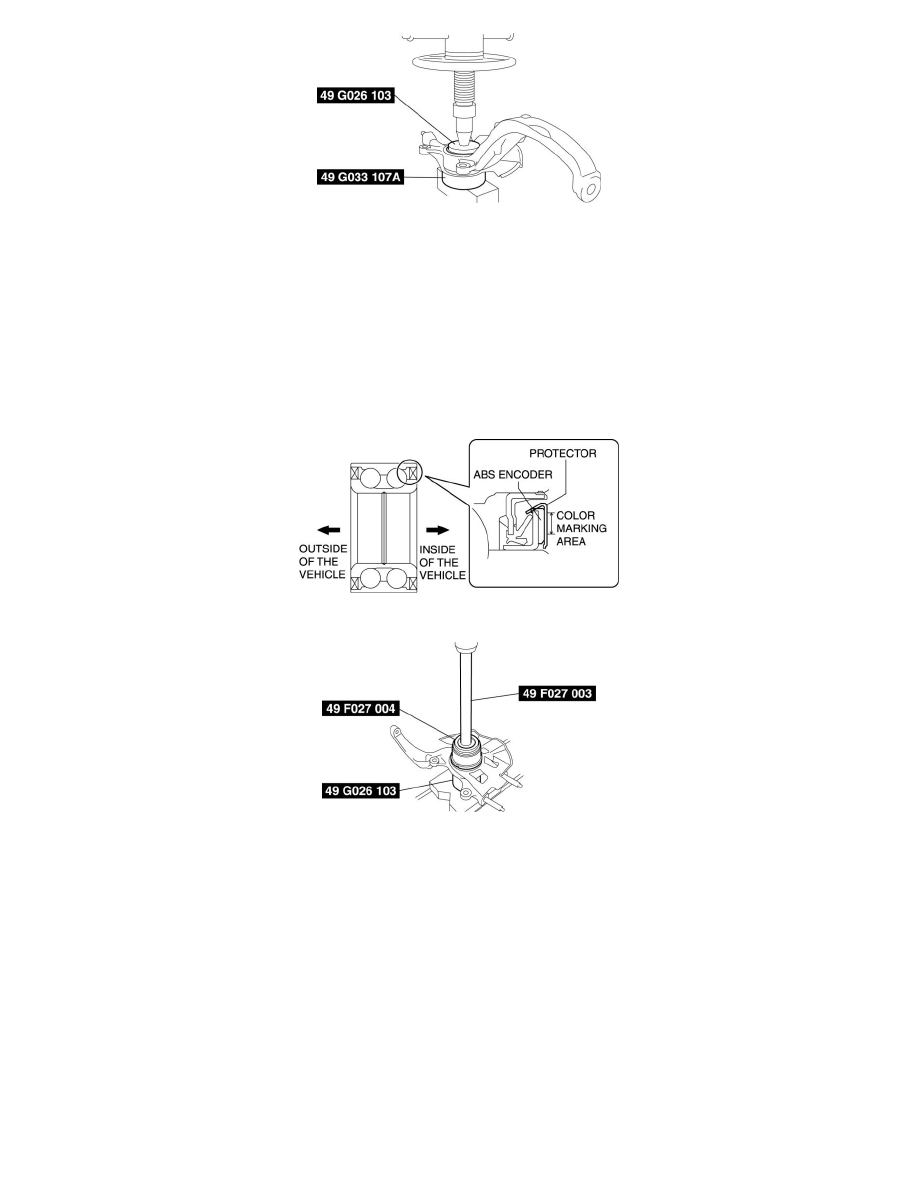
49 G033 107A
Inner diameter: 98-101 mm {3.86-3.97 in}
Plate thickness: 1 mm {0.04 in} or more
Depth: 18 mm {0.71 in} or more
-
49 G026 103
Outer diameter: 78-83 mm {3.1-3.2 in}
Wheel Bearing Assembly Note
NOTE:
-
Install the wheel bearing with the ABS encoder (identification color: green (L5), white (MZI-3.7)) facing inside of the vehicle.
1. Install the new wheel bearing using the SSTs.
Substitution SST
-
49 F027 004
Outer diameter:76-79 mm {3.0-3.1 in}
-
49 G026 103
Outer diameter: 78-83 mm {3.1-3.2 in}
Wheel Hub Component Assembly Note
1. Install the wheel hub component using the SSTs.
