CX-7 FWD L4-23L Turbo (2010) Steering Gear Removal and Replacement Page 4948
Tie rod Disassembly Note
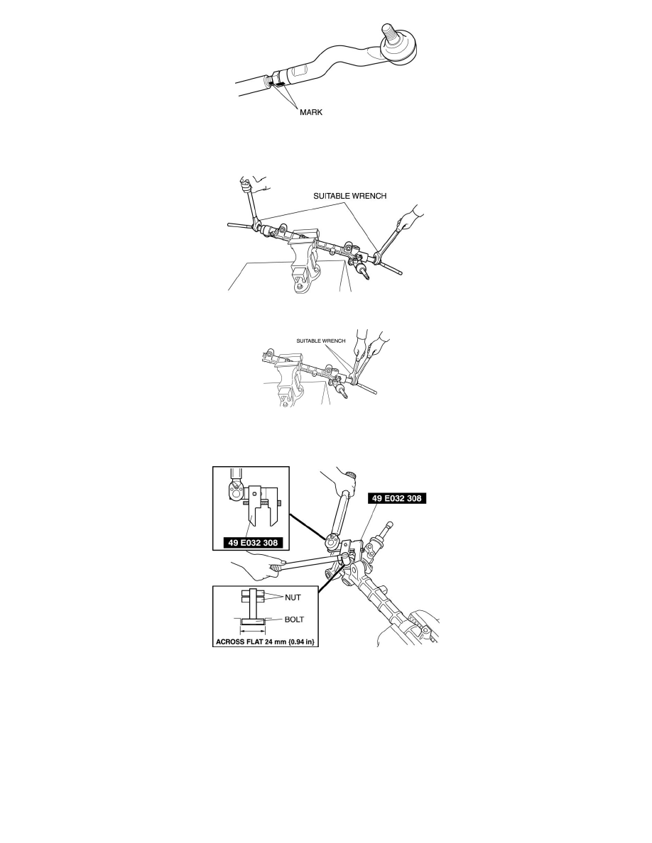
1. Lock the steering rack end (pinion gear side) against rotation with a wrench and remove the tie rod using the suitable wrench.
2. Install a wrench to the flat surface of the steering rack as shown in the figure and remove the tie rod using the suitable wrench.
Locknut (Adjusting Cover), Adjusting Cover Disassembly Note
1. Install two nuts to the bolt across a flat 24 mm {0.94 in} and tighten them using a wrench.
2. Secure the adjusting cover with the bolt and nuts created in Step 1, and remove the locknut using the SST.
CAUTION:
-
If a tool such as a torque wrench is installed to the SST (49 E032 308), install the tool so that it is perpendicular to the SST as shown in the
figure. If the tool is not installed as instructed, the SST can separate from the locknut easily which could cause damage to the locknut while
doing the work.
3. Using the bolt/nut produced in Step 1, remove the adjusting cover.
Pinion Shaft, Oil seal (lower side) Disassembly Note
1. Press out the pinion shaft and oil seal (lower side) component.
