CX-7 FWD L4-2.3L Turbo (2010)
CAUTION:
-
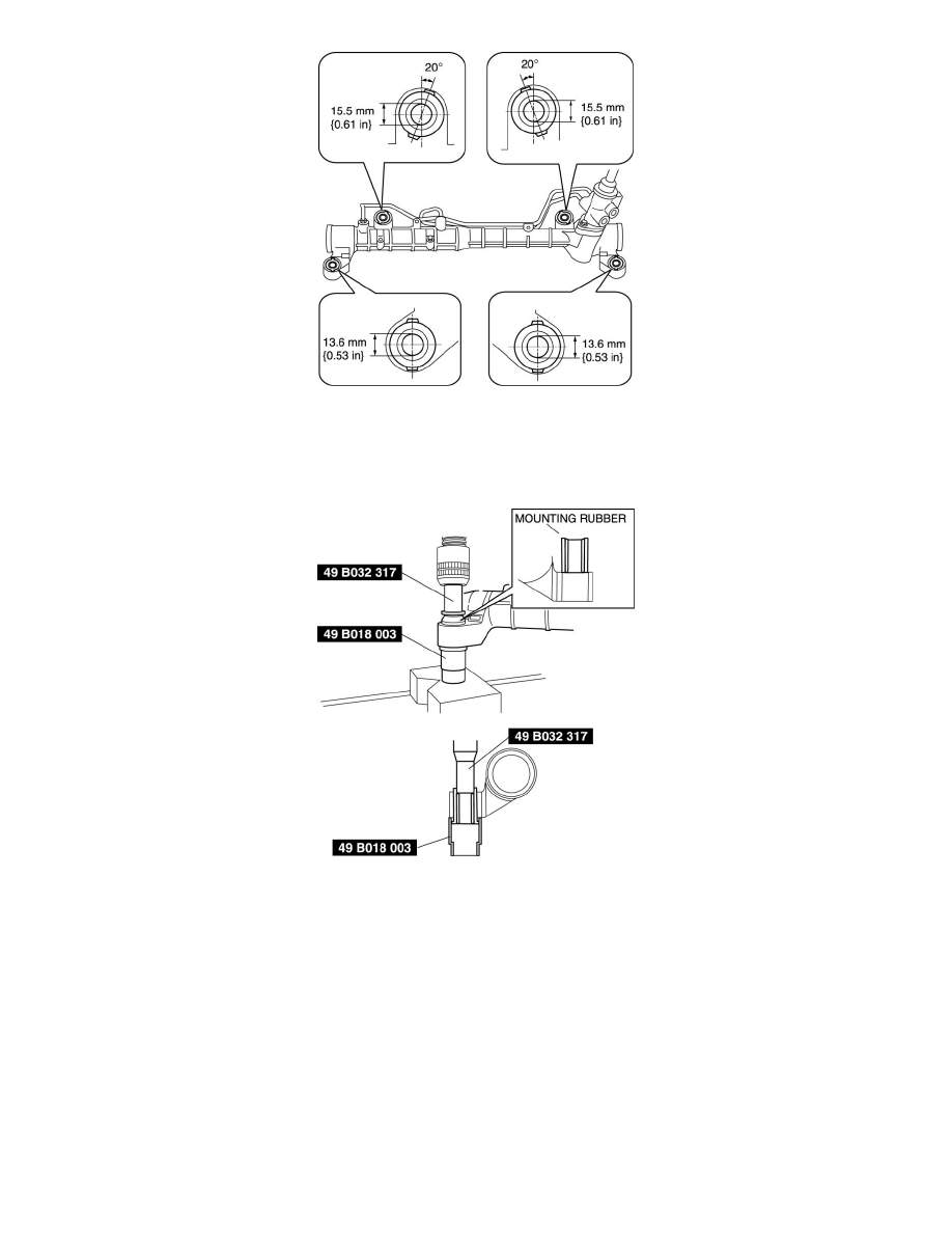
If the mounting rubber is placed in the wrong position or assembled in the wrong direction, an installation malfunction will result when the
vehicle is loaded. When assembling the mounting rubber, verify the position and directions.
3. Press the mounting rubber until the mounting rubber end comes out completely from the gear housing using the SSTs and a press.
Substitution SST
-
49 B032 317
Outer diameter: 17.5-23.0 mm {0.69-0.90 in}
Length 35 mm {1.4 in} or more
-
49 B018 003
Inner diameter: 36-38 mm {1.42-1.49 in}
4. Reverse the gear housing, then press the mounting rubber until the mounting rubber end comes out completely from the other side. At this time,
make sure that the mounting rubber and steel pipe are aligned.
