Mini Workshop Service and Repair Manuals
HOME
FEATURES
MENU
INDEX
ABOUT US
Diagram Information and Instructions|Page 5701 >
< Diagram Information and Instructions|Page 5699
Cooper Convertible (R57) L4-1.6L (N12) (2009)
Power and Ground Distribution
Fuse / Component Information
Diagrams / Diagram Information and Instructions
Page 5700
Page 1
Fuse: Electrical Diagrams
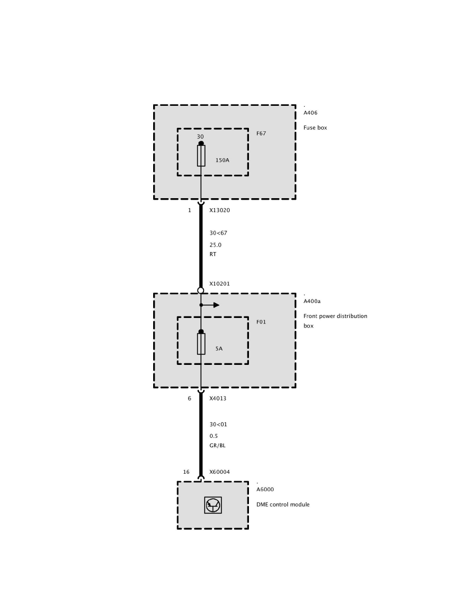
F01
Fuse F01 (Petrol Engine)
Power and Ground Distribution
Fuse / Component Information
Diagrams / Diagram Information and Instructions
Page 5700
Diagram Information and Instructions|Page 5701 >
< Diagram Information and Instructions|Page 5699