Mini Workshop Service and Repair Manuals
HOME
FEATURES
MENU
INDEX
ABOUT US
Diagram Information and Instructions|Page 5702 >
< Diagram Information and Instructions|Page 5700
Cooper Convertible (R57) L4-1.6L (N12) (2009)
Power and Ground Distribution
Fuse / Component Information
Diagrams / Diagram Information and Instructions
Page 5701
Page 2
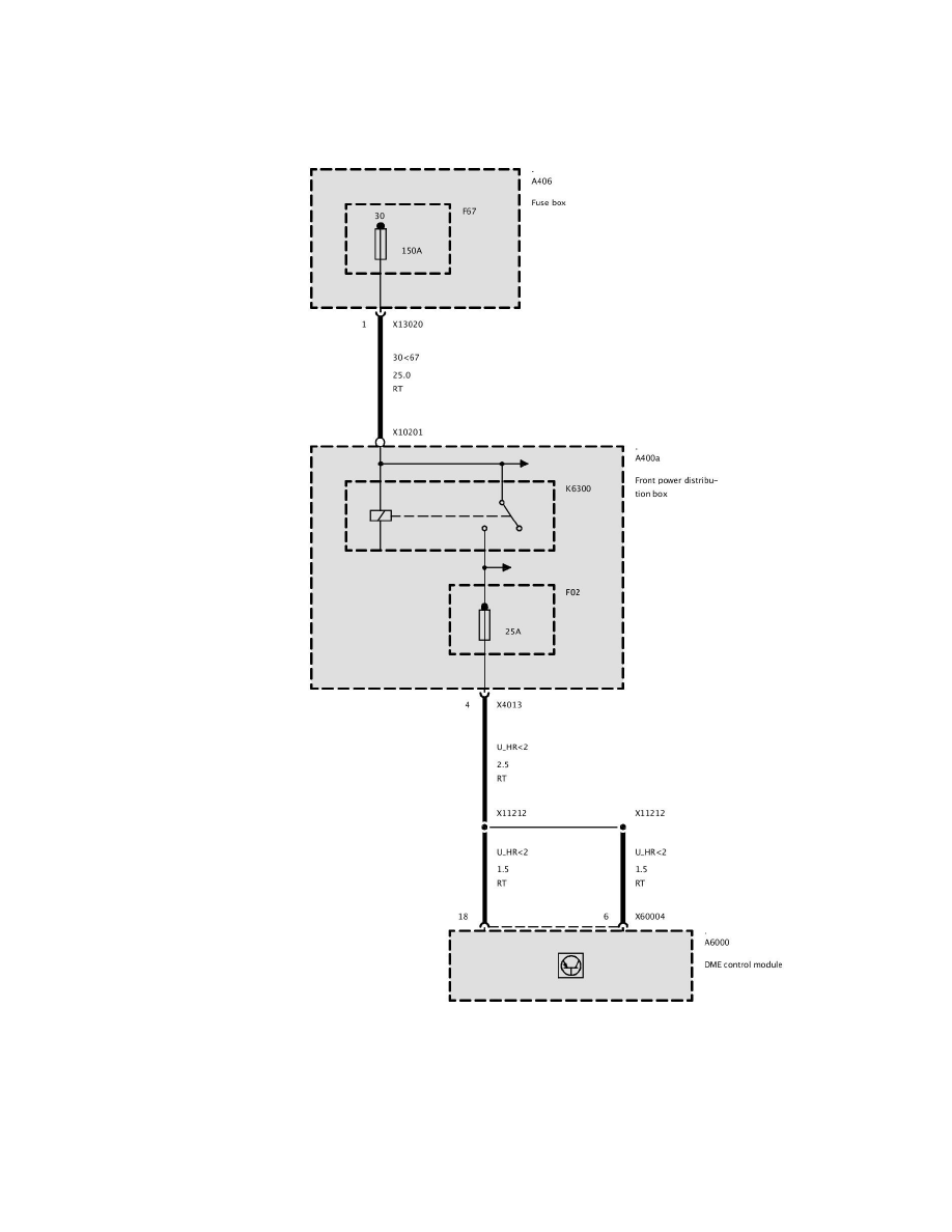
F02
Fuse F02 (Petrol Engine)
F03
Power and Ground Distribution
Fuse / Component Information
Diagrams / Diagram Information and Instructions
Page 5701
Diagram Information and Instructions|Page 5702 >
< Diagram Information and Instructions|Page 5700