Mini Workshop Service and Repair Manuals
HOME
FEATURES
MENU
INDEX
ABOUT US
Diagram Information and Instructions|Page 9099 >
< Diagram Information and Instructions|Page 9097
Cooper S Clubman (R55) L4-1.6L Turbo (N14) (2008)
Power and Ground Distribution
Fuse / Component Information
Diagrams / Diagram Information and Instructions
Page 9098
Page 1
Fuse: Electrical Diagrams
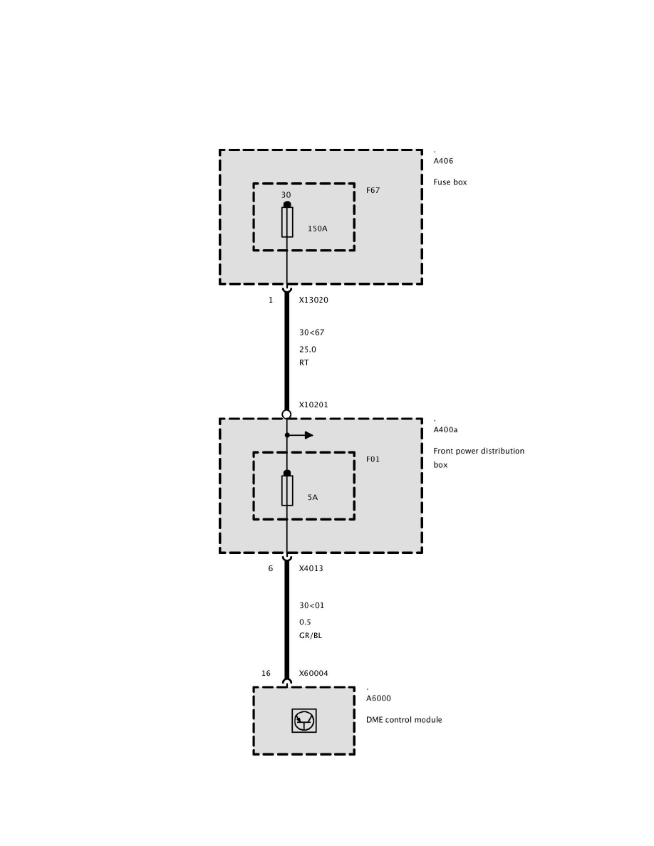
F01
Fuse F01 (Petrol Engine)
Power and Ground Distribution
Fuse / Component Information
Diagrams / Diagram Information and Instructions
Page 9098
Diagram Information and Instructions|Page 9099 >
< Diagram Information and Instructions|Page 9097