Mini Workshop Service and Repair Manuals
HOME
FEATURES
MENU
INDEX
ABOUT US
Diagram Information and Instructions|Page 9100 >
< Diagram Information and Instructions|Page 9098
Cooper S Clubman (R55) L4-1.6L Turbo (N14) (2008)
Power and Ground Distribution
Fuse / Component Information
Diagrams / Diagram Information and Instructions
Page 9099
Page 2
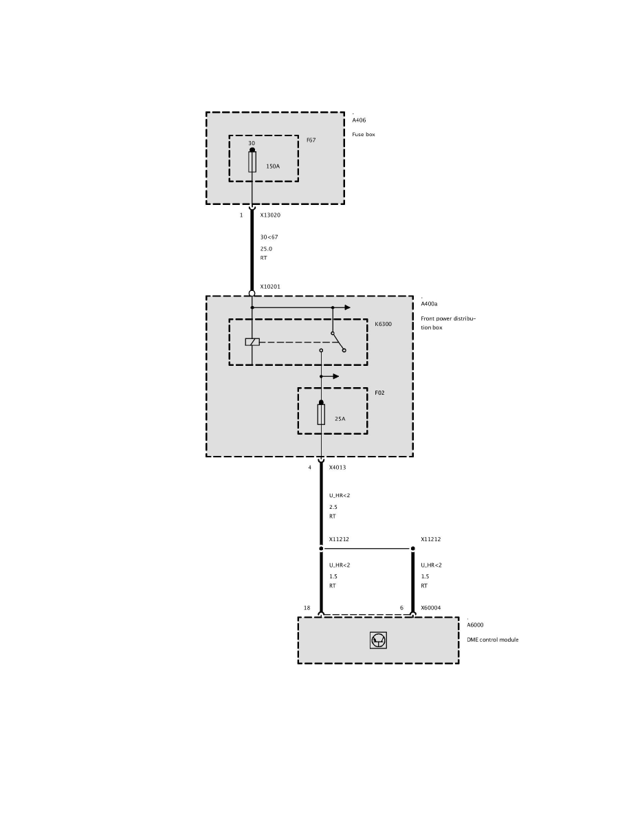
F02
Fuse F02 (Petrol Engine)
F03
Power and Ground Distribution
Fuse / Component Information
Diagrams / Diagram Information and Instructions
Page 9099
Diagram Information and Instructions|Page 9100 >
< Diagram Information and Instructions|Page 9098