Mini Workshop Service and Repair Manuals
HOME
FEATURES
MENU
INDEX
ABOUT US
Diagram Information and Instructions|Page 9101 >
< Diagram Information and Instructions|Page 9099
Cooper S Clubman (R55) L4-1.6L Turbo (N14) (2008)
Power and Ground Distribution
Fuse / Component Information
Diagrams / Diagram Information and Instructions
Page 9100
Page 3
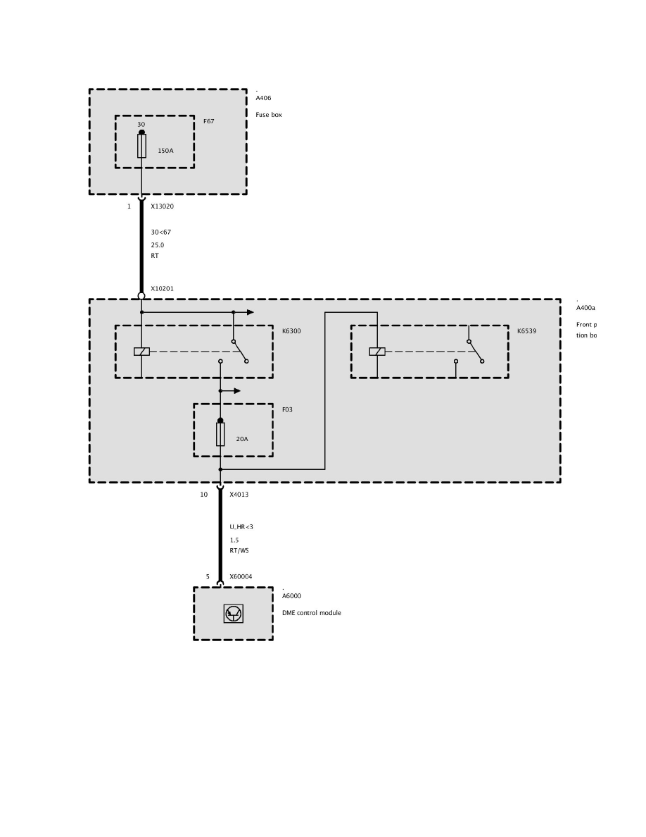
Fuse F03 (Petrol Engine)
Part 1
Power and Ground Distribution
Fuse / Component Information
Diagrams / Diagram Information and Instructions
Page 9100
Diagram Information and Instructions|Page 9101 >
< Diagram Information and Instructions|Page 9099