Leon Mk1
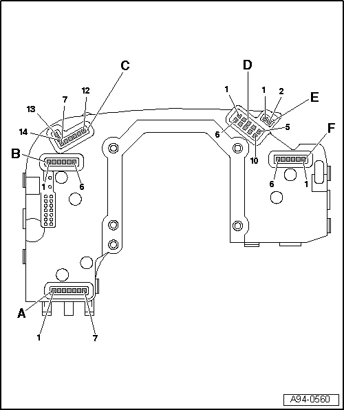
| Front side |

| A - | Connector for cruise control system |
| 1 - Terminal 31 |
| 2 - Fit |
| 3 - Distance |
| 4 - Terminal 30 |
| 5 - Resume/touch function (Off) |
| 6 - Acceleration/deceleration |
| 7 - Locked (Off) |
| B - | Connector for turn signal |
| 1 - Terminal 31 |
| 2 - Not used |
| 3 - Not used |
| 5 - Headlight flasher/light control |
| 6 - Turn signal indicators |
| C - | Connectors for multi-function steering wheel |
| 7 - Tiptronic (-) |
| 8 - Multi-function steering wheel (terminal 30) |
| 9 - Multi-function steering wheel (LIN data bus) |
| 10 - Tiptronic (+) |
| 11 - Multi-function steering wheel dimmer |
| 12 - Not used |
| 13 - Not used |
| 14 - Not used |
| D - | Steering angle sender -G85- |
| 1 - Light barrier 5 |
| 2 - Light barrier 3 |
| 3 - Light barrier 1 |
| 4 - Terminal 30 |
| 5 - Voltage supply (5 V) |
| 6 - Light barrier 6 |
| 7 - Light barrier 4 |
| 8 - Light barrier 2 |
| 9 - Terminal 31 (steering angle sender) |
| 10 - Light barrier 7 |
| E - | Horn -H1- |
| 1 - Terminal 31 |
| 2 - Horn |
| F - | Wiper system |
| 1 - Terminal 31 |
| 2 - Intermittent wipe potentiometer |
| 3 - On-board computer |
| 5 - Wash |
| 6 - Wipe |
