skoda Workshop Repair Guides

Skoda Workshop Service and Repair Manuals

Adjust panel seal > < Install glass panel for sliding/tilting roof
Glass roof pane for sliding/tilting roof (height adjustment)
Glass roof pane for sliding/tilting roof (height adjustment)
–  Move the glass panel into the tilting position.
–  Slide the sun screen backwards to its maximum.
–  Slide trim frame backwards (clipped on in the area of the front guides and guided in the rear area by the studs).
–  Check parallel running, set if necessary → Chapter.
–  Loosen all four screws of the glass panel (centering afloat in the roof opening).
–  Guide the glass panel in position „closed“.
–  Perform height adjustment of front and rear glass panel on both sides as follows:
   
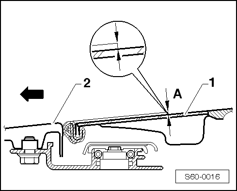
Front roof pane adjustment:
A = 1 mm lower than the roof -2-
-1- = Glass panel
Arrow = direction of travel
  S60-0016
Rear roof panel adjustment:
b = 1 mm higher than the roof -2-
Arrow = direction of travel
-1- = Glass panel
–  Tighten glass panel screws (6 Nm).
–  Slide trim frame forwards and clip on (clipped on in the area of the front guides and guided in the rear area by the studs).
  S60-0017

Adjust panel seal > < Install glass panel for sliding/tilting roof