Camry L4-2.4L (2AZ-FXE) Hybrid (2007)
Brake Pedal Assy: Adjustments
From 03-2006 to 10-2006
BRAKE: BRAKE PEDAL: ADJUSTMENT
ADJUSTMENT
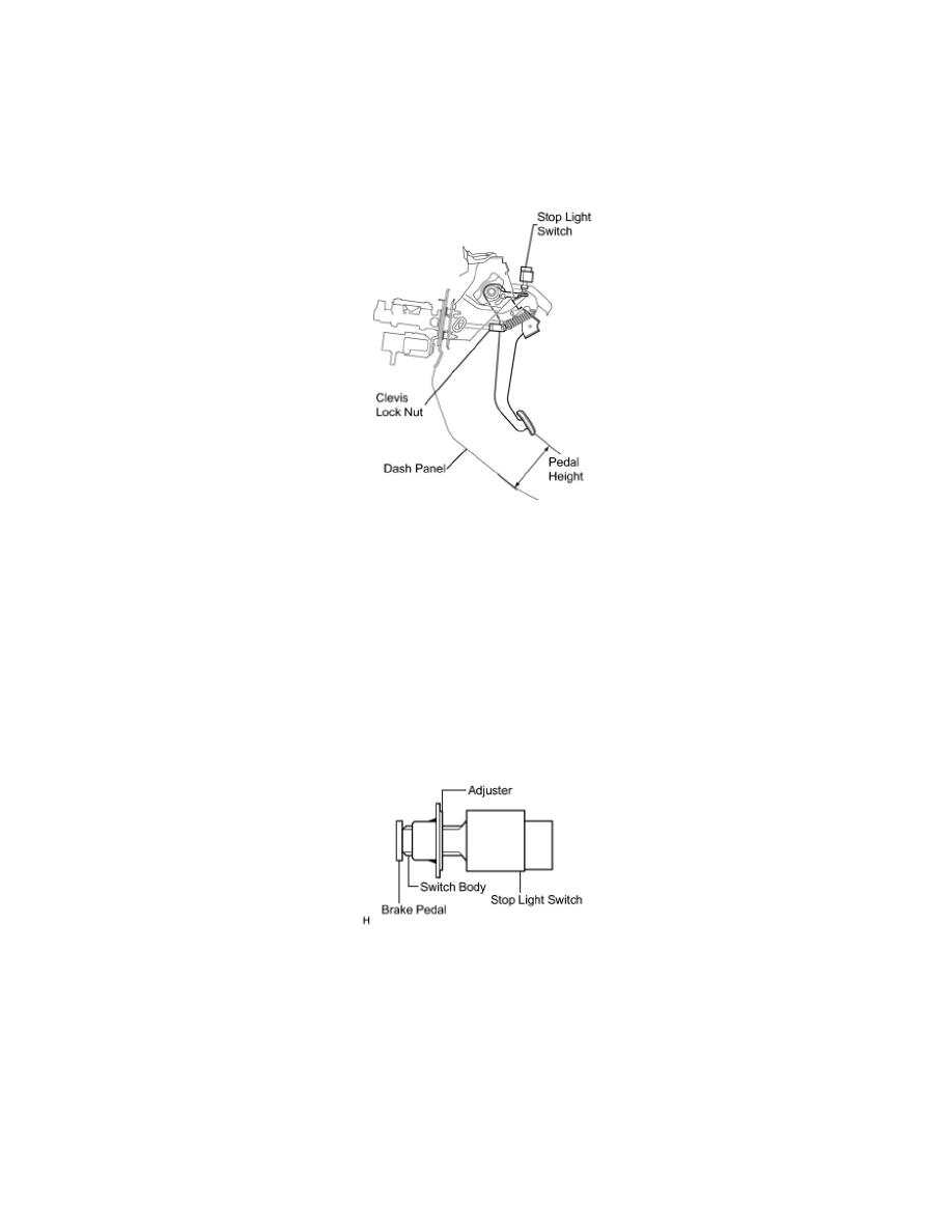
1. CHECK AND ADJUST BRAKE PEDAL HEIGHT
(a) Check the brake pedal height.
Pedal height from dash panel:
129.9 to 139.9 mm (5.114 to 5.508 in.)
(b) Adjust the brake pedal height.
(1) Disconnect the connector from the stop light switch assembly.
(2) Remove the stop light switch.
(3) Loosen the push rod clevis lock nut.
(4) Adjust the pedal height by turning the pedal push rod.
Pedal height from the dash panel:
129.9 to 139.9 mm (5.114 to 5.508 in.)
(5) Tighten the clevis lock nut.
Torque: 26 Nm (265 kgf-cm, 19ft-lbf)
(6) Insert the switch into the adjuster until the switch body touches the pedal.
NOTICE: Do not depress the pedal.
(7) Rotate the switch a quarter turn clockwise.
Torque: 1.5 Nm (15 kgf-cm, 13in-lbf)
NOTICE: Do not depress the pedal.
