RAV4 4WD L4-2.5L (2AR-FE) (2009)
Navigation System: Description and Operation
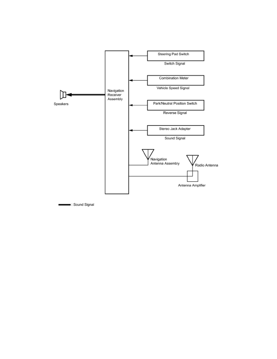
NAVIGATION: NAVIGATION SYSTEM: SYSTEM DIAGRAM
SYSTEM DIAGRAM
NAVIGATION: NAVIGATION SYSTEM: SYSTEM DESCRIPTION
SYSTEM DESCRIPTION
1. NAVIGATION SYSTEM OUTLINE
(a) Vehicle position tracking methods
(1) It is essential that the navigation system correctly tracks the current vehicle position and displays it on the map. There are 2 methods to
track the current vehicle position: autonomous (dead reckoning) and GPS* (satellite) navigation. Both navigation methods are used in
conjunction with each other.
HINT: *: GPS (Global Positioning System)
