volkswagen Workshop Repair Guides

Volkswagen Workshop Service and Repair Manuals

Reworking valve seats > < Removing and installing cylinder head
4-Cyl. Injection Engine, Mechanic
Servicing valve gear
Servicing valve gear
 
V15-0848

Note:

Cylinder heads which have cracks between the valve seats or between valve seat inserts and the spark plug thread can be used further without reducing service life, provided the cracks do not exceed a maximum of 0.5 mm in width, or when no more than the first spark plug thread is cracked.

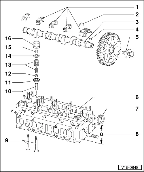
  • Bearing cap
    • ◆ Installation position => Fig. 2
    • ◆ Installation sequence
      , removing and installing camshaft
  • 20 Nm
 
V15-0848
  • Camshaft
    • ◆ Checking axial clearance => Fig. 1
    • ◆ Removing and installing
      => Page 15-22
    • ◆ Checking radial clearance with plastigage
      Wear limit: 0.1 mm
    • ◆ Run-out: max. 0.01 mm
    • ◆ Identification and valve timing
      => Fig. 5
  • Woodruff key
    • ◆ Ensure tight fit
  • 80 Nm
    • ◆ Counter-hold with 3036 to loosen and tighten
  • Cylinder head
    • ◆ Exchange cylinder head with camshaft bearing shells => Fig. 3
    • ◆ See note
      => Page 15-9
    • ◆ Reworking valve seats
      => Page 15-17
 
V15-0848
  • Oil seal
  • Cylinder head reworking dimension
    • ◆ Minimum height: a = 132.6 mm
  • Valves
    • ◆ Do not rework only grinding-in is permitted
    • ◆ Valve dimensions => Fig. 4
  • Valve guide
    • ◆ Checking => Page 15-26
    • ◆ Renewing => Page 15-26
    • ◆ Service version with collar
  • Lower valve spring plate
    • ◆ Vehicles ä 11.94 only
  • Valve stem seal
    • ◆ Renewing=> Page 15-27
    • ◆ Remove and install with 3047A
 
V15-0848
  • Valve springs
    • ◆ Removing and installing:
      Cylinder head
      removed: with 2037
      installed: => Page 15-27 , renewing valve stem seals
    • ◆ Vehicles 12.94 ä one valve spring only
  • Upper valve spring plate
  • Cotters
  • Bucket tappet
    • ◆ Do not interchange
    • ◆ With hydraulic valve clearance compensation
    • ◆ Checking => Page 15-24
    • ◆ Store with cam contact surface downwards
    • ◆ Before installing check camshaft axial clearance => Fig. 1
    • ◆ Oil contact surface

Special tools, testers and auxiliary items

  • ◆ Universal dial gauge bracket VW 387
 
V15-0456
  • ◆ Dial gauge

→ Fig. 1     Checking camshaft axial clearance

Wear limit: max. 0.15 mm

Check with bucket tappets removed and with first and last bearing caps fitted.

 
V15-0098

→ Fig. 2     Fitting position of camshaft bearing caps

Note offset. Before installing camshaft fit bearing caps and determine fitting position.

 
V15-0694

→ Fig.3     Exchange cylinder heads with camshaft bearing shells

Exchange cylinder heads/exchange engines are in some cases supplied with camshaft bearing shells.

  •      A -     Cylinder head with standard dimension camshaft
    • a = 26.00 mm ø
  •      B -     Cylinder head with undersize camshaft
    • a = 25.75 mm ø and yellow coloured spot on VW-Audi emblem

Note:

Undersize camshafts will not be supplied as a replacement part. In cases of repair install standard camshaft with the corresponding bearing shells.

 
V15-0024

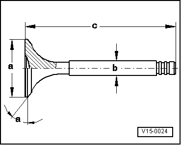
→ Fig. 4     Valve dimensions

Note:

Valves must not be reworked. Only lapping-in is permitted.

Dimension

Inlet valve

Exhaust valve

øa

mm

40.00-0.50

33.0

øb

mm

6.97

6.95

c

mm

91.85

91.15

α

45

45

 
V15-0693

→ Fig.5     Camshaft identification, valve timing

Identification

  • ◆ Cam base diameter: a = 34 mm ø
  • ◆ Identification by stamped numbers and letters between inlet and exhaust cams:

Engine codes

ABA▸07.96

ABA08.96▸

Cylinder 1 -arrow I-

D

B

Cylinder 3 -arrow II-

048

050

Valve timing at 1 mm valve lift

Engine codes

ABA▸07.96

ABA08.96▸

Inlet opens ATDC

6 °

1 °

Inlet closes ABDC

45 °

37 °

Exhaust opens BBDC

42 °

41 °

Exhaust closes BTDC

4 °

5 °

Reworking valve seats > < Removing and installing cylinder head