Golf Mk6
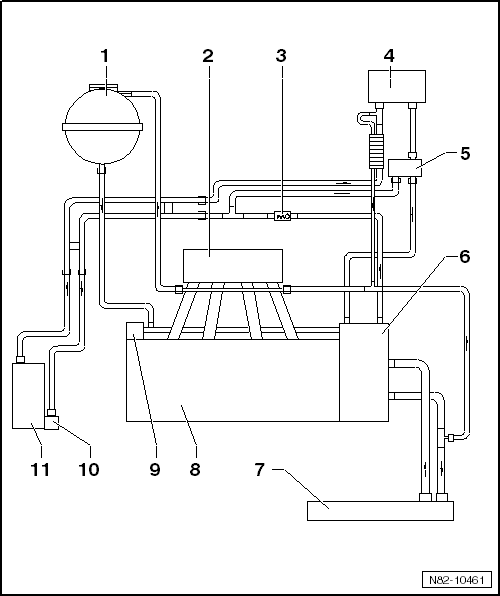
| Connection diagram for coolant hoses in vehicles with auxiliary heating, engine codes BCA, BUD, CGGA |

| 1 - | Coolant expansion tank |
| 2 - | Intake manifold with charge air cooler |
| 3 - | Non-return valve |
| 4 - | Heat exchanger for heater |
| 5 - | 4/2-way valve with thermostat |
| 6 - | Thermostat housing |
| 7 - | Radiator |
| 8 - | Cylinder head and cylinder block |
| 9 - | Coolant pump |
| 10 - | Auxiliary heater Thermo Top V |
| q | Removing and installing → Chapter |
| 11 - | Circulation pump -V55- |
| q | Removing and installing → Chapter |
