Volkswagen Workshop Service and Repair Manuals
HOME
FEATURES
MENU
INDEX
ABOUT US
Checking fuel pumpG6 >
< Removing and installing fuel delivery unit
Golf Mk6
Power unit
4-cylinder injection engine (1.8 and 2.0 l engine, chain drive)
Fuel supply, gas operation
Repairing fuel supply system (Golf, Eos, Scirocco)
Removing and installing fuel gauge senderG
Removing and installing fuel gauge senderG
Removing and installing fuel gauge sender -G-
Removing:
–
Remove fuel delivery unit
→ Chapter
.
–
Pull fuel gauge sender -G- slightly to side and upwards at the same time
–
If the sender cannot be released in this way, the retaining tabs
-arrows-
must also be pushed to the side slightly.
–
Note colour co-ordination of cables for reinstallation.
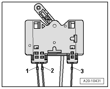
–
Release electrical connectors
-1…3-
and pull them off. Then bend back the locking devices of the connector.
Installing:
–
Connect connectors
-1…3-
. Observe colour co-ordination.
–
Check connectors are secured properly by pulling.
–
Insert fuel gauge sender -G- into guide on fuel delivery unit and press down until it engages.
–
Install fuel delivery unit
→ Chapter
.
Power unit
4-cylinder injection engine (1.8 and 2.0 l engine, chain drive)
Fuel supply, gas operation
Repairing fuel supply system (Golf, Eos, Scirocco)
Removing and installing fuel gauge senderG
Checking fuel pumpG6 >
< Removing and installing fuel delivery unit