Passat (B3)
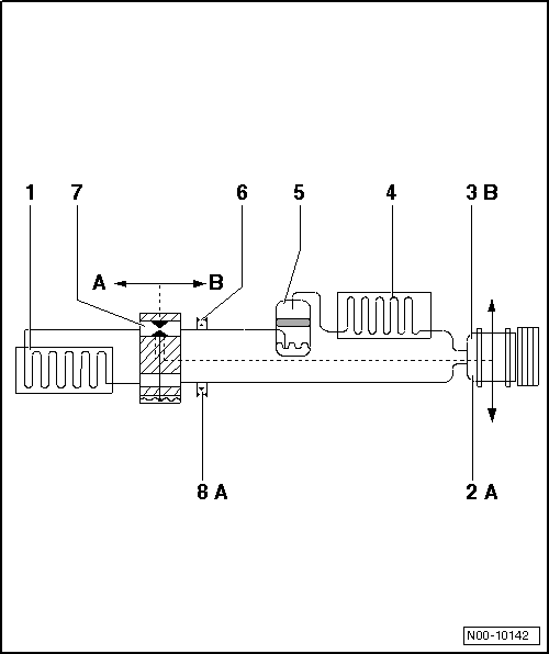
| Refrigerant circuit with expansion valve |
| A- low-pressure side of the refrigerant circuit. |
| B- high-pressure side of the refrigerant circuit. |

| Component | Overall state of the refrigerant | Pressure (in bar) | Temperature in degrees Celsius |
| -1- evaporator, from inlet to outlet | Vapour | approx. 1.2 bar → Remark | approx. -7 °C → Remark |
| (approx. 1.8 bar) → Remark | approx. -1° C → Remark | ||
| -2- Air conditioning system compressor A-side | Gas | approx. 1.2 bar → Remark | approx. -1 ℃ |
| (approx. 1.8 bar) → Remark | (approx. -1° C) → Remark | ||
| -3- Air conditioning system compressor B-side | Gas | approx. 14 bar | approx. +65° C |
| -4- Condenser | Gas, vapour, liquid | approx. 14 bar | at outlet approx. + 55° C |
| -5- Receiver | Liquid | approx. 14 bar | approx. +55° C |
| -6- Extraction and charging valve, B side | Liquid | approx. 14 bar | approx. +55° C |
| -7-Expansion valve | Liquid, released into vapour | approx. 14 bar | approx. +55° C, reduced to -7° C |
| -8- Extraction and charging valve, A side | Gas | approx. 1.2 bar → Remark | approx. -7 °C → Remark |
| (approx. 1.8 bar) → Remark | approx. -1° C → Remark |
| 1) | The pressure in refrigerant circuits with regulating air conditioner compressor is held to approx. 2 bar despite changing heat transport and differing engine speeds. This applies however only within the rated range of the air conditioner compressor; if the rated range of the air conditioner compressor is exceeded, the pressure will increase → Chapter. |
| 2) | The temperature in refrigerant circuits with regulating air conditioner compressor is held within the regulation range of the air conditioner compressor despite changing heat transport and differing engine speeds. This applies however only within the rated range of the air conditioner compressor ; if the rated range of the air conditioner compressor is exceeded, the temperature will increase → Chapter. |
| 3) | Measured values for air conditioning systems with two evaporators |
Note
|

Note