Passat Sedan L4-2.0L Turbo (CCTA) (2010)
-
After the oil is filled, wait 3 minutes and then check the oil level.
-
Pull out oil dipstick and wipe with clean rag. Replace dipstick and push down to stop.
-
Pull out dipstick again and read oil level.
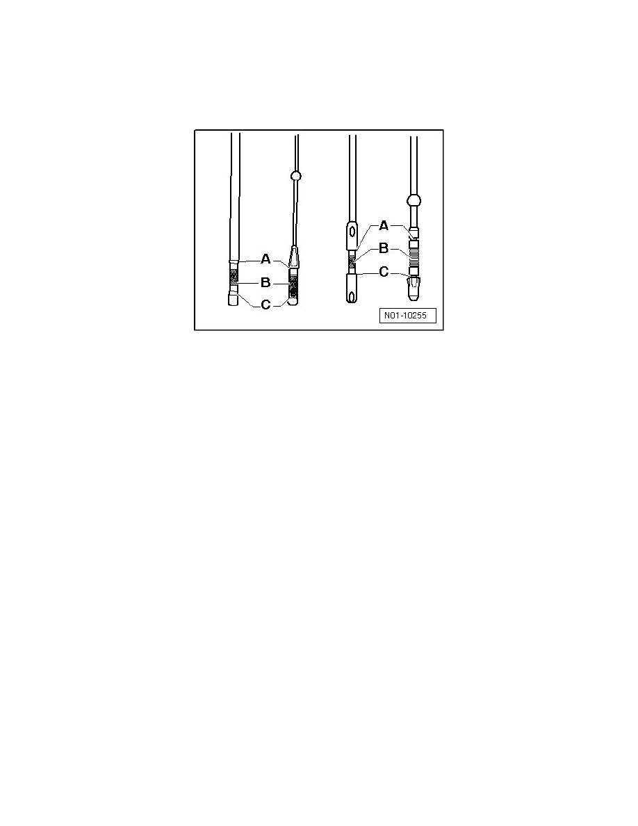
If the dipstick appears as illustrated:
A Oil must not be topped off.
B Oil can be topped off. After topping off, oil may be in range - A -.
C Oil must be topped off. It is sufficient when oil level is in area - B - (grooved field).
If oil level is above area - A -, the catalytic converter can be damaged.
-
When oil level is below marking - C -, top off with oil to marking - A -. Note oil specification.
