volkswagen Workshop Repair Guides

Volkswagen Workshop Service and Repair Manuals

Catalytic Converter|Locations|Page 1898 > < Water Pump|Specifications|Page 1893
Page 1
background image

Catalytic Converter: Locations

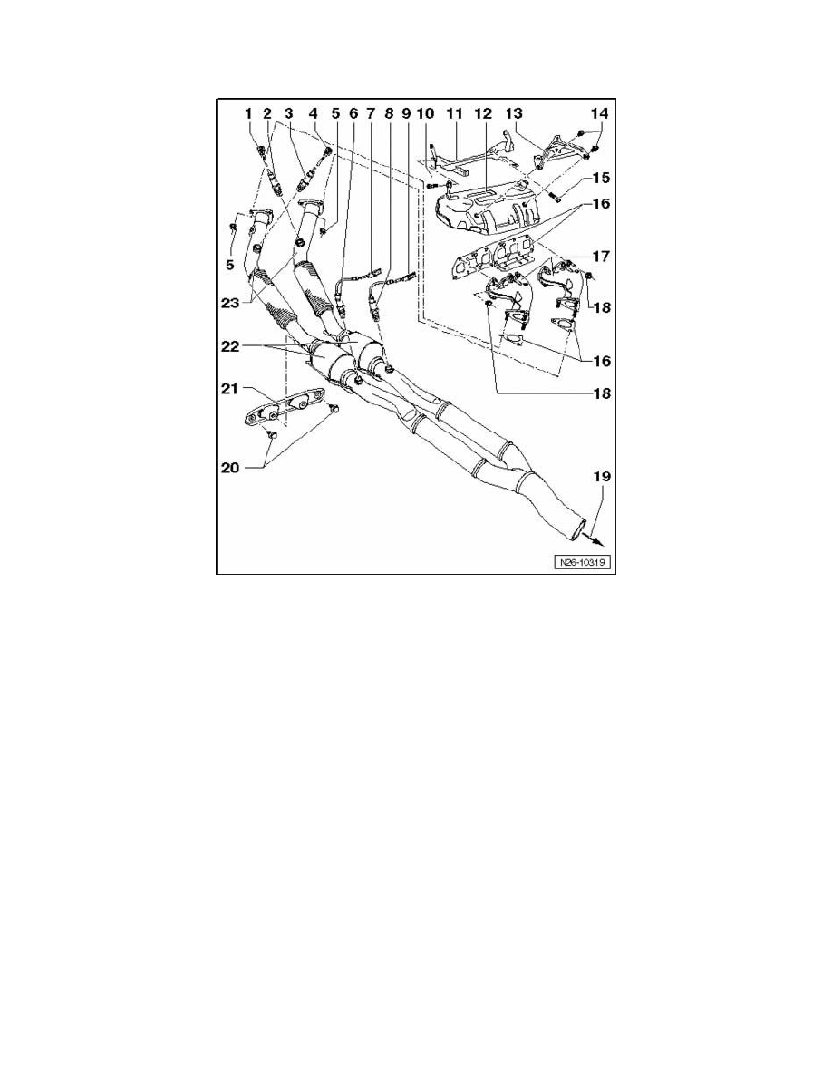
Exhaust Manifold And Front Pipe With Catalytic Converters Assembly Overview

1

-

Connector
-

Black, 6 pin

2

-

Heated oxygen sensor G39, 55 Nm
-

Installed in the exhaust gas stream of cylinders 1, 2 and 3

-

Only use hot bolt paste G 052 112 A3 to grease thread; do not let hot bolt paste G 052 112 A3 get onto slits of oxygen sensor b

-

Use ring spanner set for oxygen sensor 3337 for removal and installation

3

-

Heated Oxygen Sensor (HO2S) 2 G108, 55 Nm
-

Installed in the exhaust gas stream of cylinders 4, 5 and 6

-

Only use hot bolt paste G 052 112 A3 to grease thread; do not let hot bolt paste G 052 112 A3 get onto slits of oxygen sensor body

-

Use ring spanner set for oxygen sensor 3337 for removal and installation

4

-

Connector
-

Brown, 6 pin

5

-

40 Nm
-

Replace

6

-

Oxygen Sensor (O2S) 2 behind Three Way Catalytic Converter (TWC) G131, 55 Nm
-

Installed in the exhaust gas stream of cylinders 4, 5 and 6

-

Only use hot bolt paste G 052 112 A3 to grease thread; do not let hot bolt paste G 052 112 A3 get onto slits of oxygen sensor b

-

Use ring spanner set for oxygen sensor 3337 for removal and installation

7

-

Connector
-

Brown, 4 pin

8

-

Oxygen Sensor (O2S) behind three Way Catalytic Converter (TWC) G130, 55 Nm
-

Installed in the exhaust gas stream of cylinders 1, 2 and 3

-

Only use hot bolt paste G 052 112 A3 to grease thread; do not let hot bolt paste G 052 112 A3 get onto slits of oxygen sensor b

-

Use ring spanner set for oxygen sensor 3337 for removal and installation

9

-

Connector
-

Black, 4 pin

10

-

20 Nm

11

-

Front intake manifold support

12

-

Heat shield

Catalytic Converter|Locations|Page 1898 > < Water Pump|Specifications|Page 1893