volvo Workshop Repair Guides

Volvo Workshop Service and Repair Manuals

Diagram Information and Instructions|Page 17714 > < Diagram Information and Instructions|Page 17712
Page 38
background image

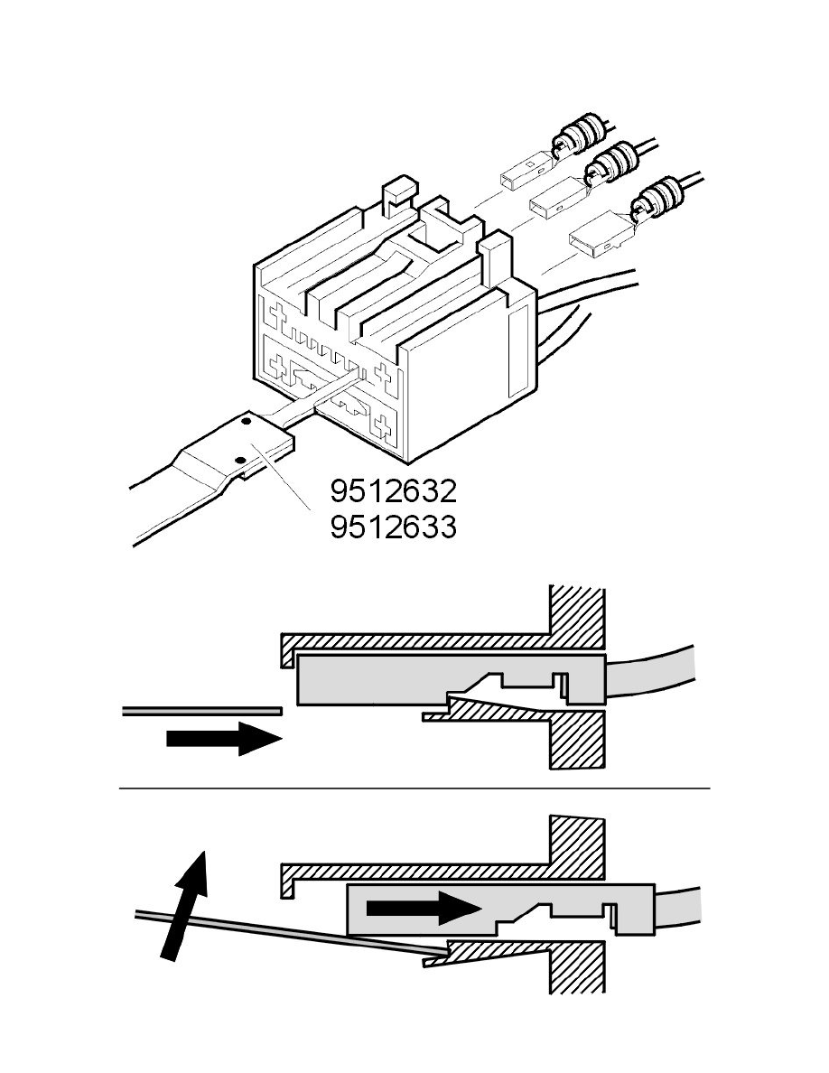
Use tool: 951 2632 Terminal removal tool  See: Tools and Equipment/951 2632 Terminal Removal Tool , 951 2633 Terminal removal tool  See: Tools
and Equipment/951 2633 Terminal Removal Tool  and 951 2639 Terminal removal tool  See: Tools and Equipment/951 2639 Terminal Removal Tool 
to remove the primary lock, as graphics.

Diagram Information and Instructions|Page 17714 > < Diagram Information and Instructions|Page 17712