volvo Workshop Repair Guides

Volvo Workshop Service and Repair Manuals

Diagram Information and Instructions|Page 18153 > < Diagram Information and Instructions|Page 18151
Page 10
background image

Note! There is one fiber for the input and one for the output signal. The system will not work if the are interchanged.

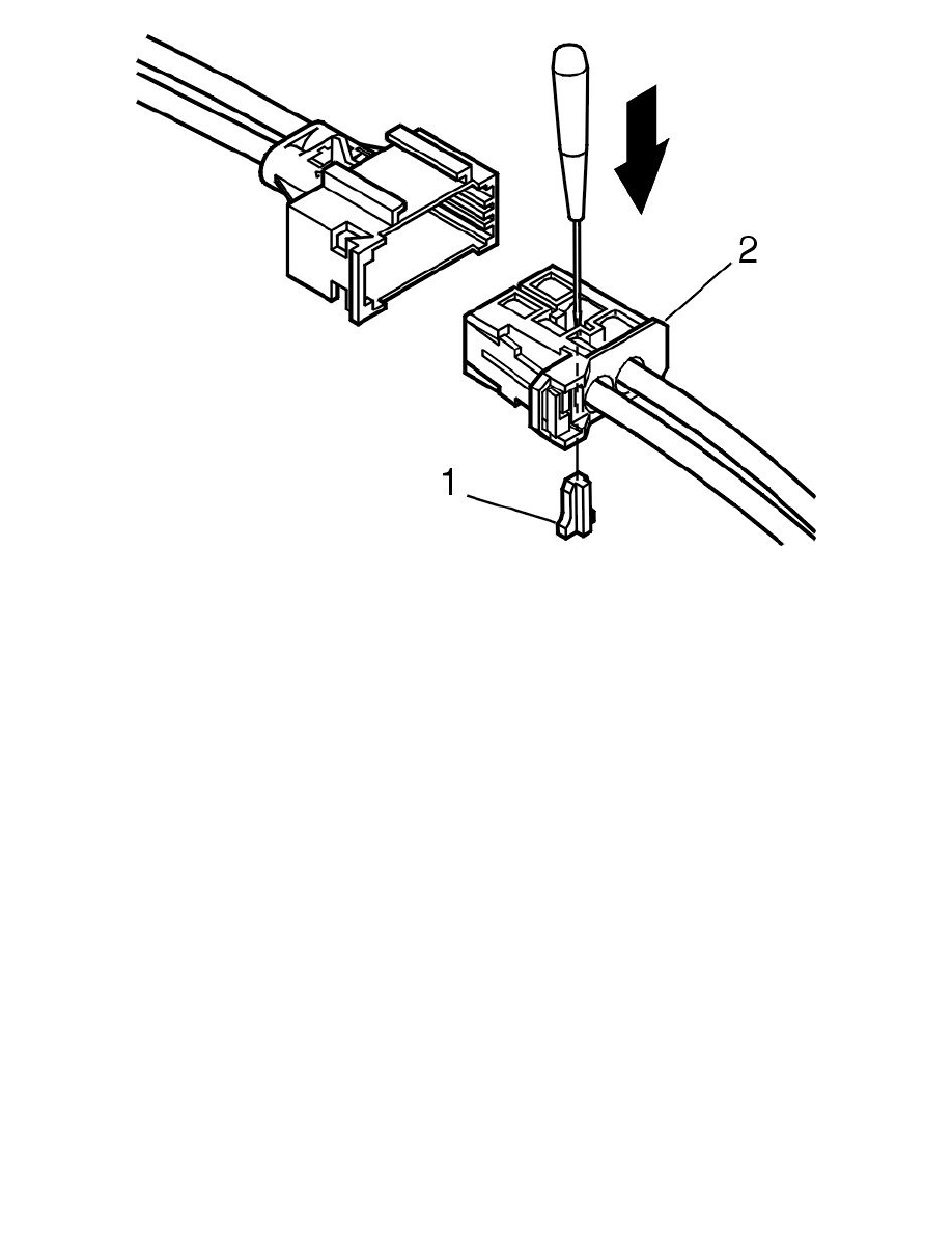
Press out the catch (1) using a screwdriver.

Diagram Information and Instructions|Page 18153 > < Diagram Information and Instructions|Page 18151