C30 T5 L5-2.5L Turbo VIN 67 B5254T7 (2008)
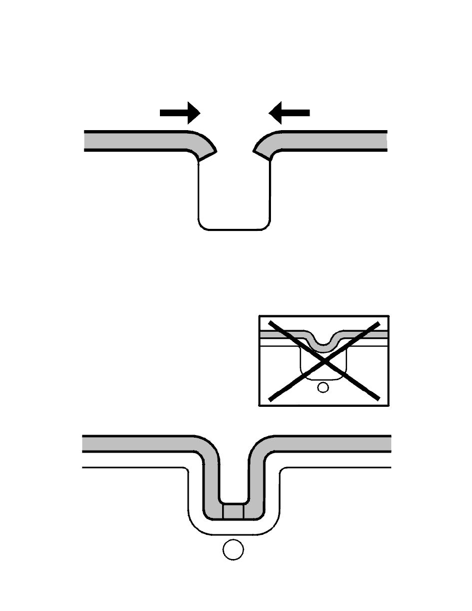
If the heater pad terminates at the channel, position it as illustrated.
Note! The end of the pad must not be up on the flat surface.
If the heater pad is the type where the pad and/or cable is placed in the channel, the pad must follow the foam filling as illustrated. If not, the pad and/or
