C30 T5 L5-2.5L Turbo VIN 67 B5254T7 (2008)
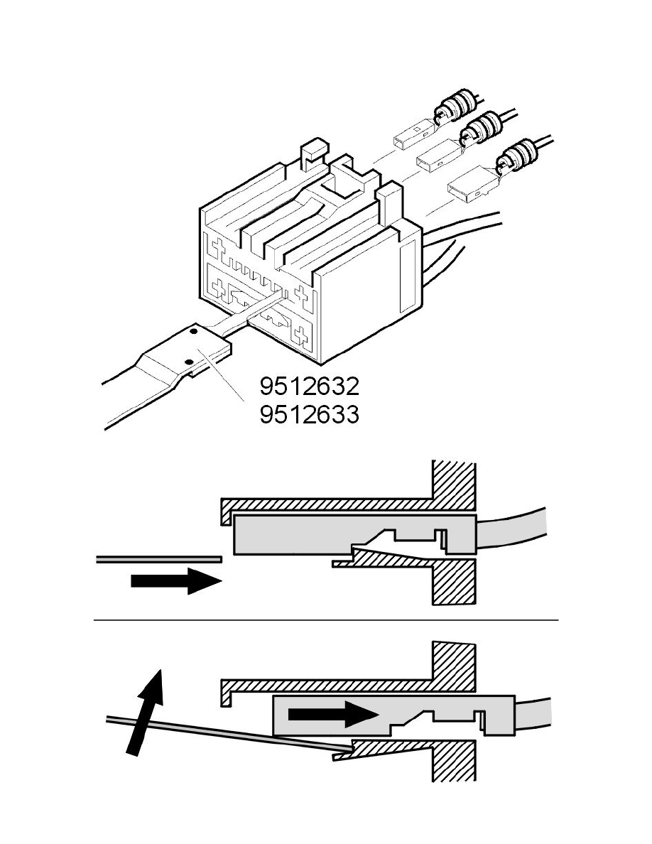
Use tool: 951 2632 Terminal removal tool See: Tools and Equipment/951 2632 Terminal Removal Tool , 951 2633 Terminal removal tool See: Tools
and Equipment/951 2633 Terminal Removal Tool and 951 2639 Terminal removal tool See: Tools and Equipment/951 2639 Terminal Removal Tool
to remove the primary lock, as graphics.
