volvo Workshop Repair Guides

Volvo Workshop Service and Repair Manuals

Diagram Information and Instructions|Page 9273 > < Diagram Information and Instructions|Page 9271
Page 53
background image

Note! There is one fiber for the input and one for the output signal. The system will not work if the are interchanged.

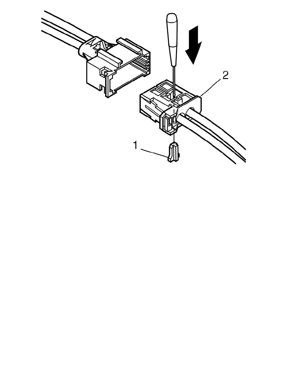
Press out the catch (1) using a screwdriver.

Diagram Information and Instructions|Page 9273 > < Diagram Information and Instructions|Page 9271