volvo Workshop Repair Guides

Volvo Workshop Service and Repair Manuals

Diagram Information and Instructions|Page 9285 > < Diagram Information and Instructions|Page 9283
Page 65
background image

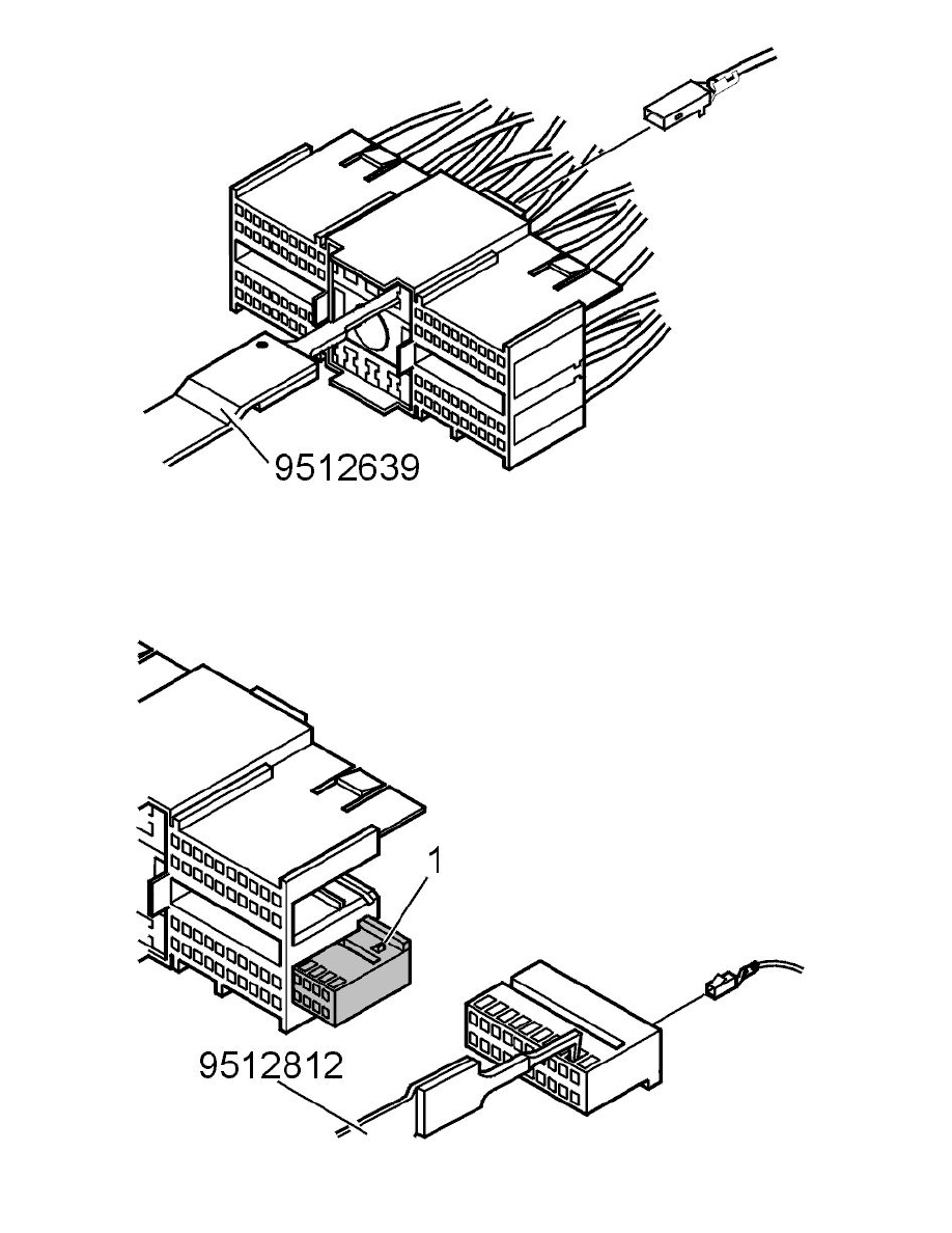
To remove the center cable terminals, use tool: 951 2639 Terminal removal tool  See: Tools and Equipment/951 2639 Terminal Removal Tool , see the
illustration.
At the same time pull the cable carefully backwards.

Release the inner housing section on the socket housing by lifting the sleeve beside the catch and pulling the housing section outwards.
Use tool: 951 2812 Terminal removal tool See: Tools and Equipment/951 2812 Terminal Removal Tool  or 951 2637 Terminal removal tool  See: Tools

Diagram Information and Instructions|Page 9285 > < Diagram Information and Instructions|Page 9283