volvo Workshop Repair Guides

Volvo Workshop Service and Repair Manuals

Starter Motor > < Starting System - No Start/Key Stuck In SCU|Page 9305
Page 1
background image

Keyless Start Control Module: Technical Service Bulletins
KIR System - Label Identification Information

Retailer Technical Journal 20266
P1X: Reading key codes on new KIR label

Date 12-10-2008

Note! If using a printed copy of this Retailer Technical Journal, first check for the latest online version.

AFFECTED VEHICLES:

DESCRIPTION:

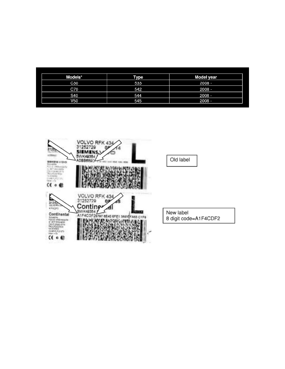
The KIR (key integrated remote) label which is affixed to the spare part packaging has been modified in order to make the 24 digit code more legible.
However, as a result of the increased font size, the spacing between the 8 digit and 24 digit codes has been deleted making interpretation of the label
more difficult. The label layout remains unchanged, only the font size has been increased to make the 24 digit code more legible.

Starter Motor > < Starting System - No Start/Key Stuck In SCU|Page 9305