volvo Workshop Repair Guides

Volvo Workshop Service and Repair Manuals

Diagram Information and Instructions|Page 5878 > < Diagram Information and Instructions|Page 5876
Page 18
background image

Note! There is one fiber for the input and one for the output signal. The system will not work if the are interchanged.

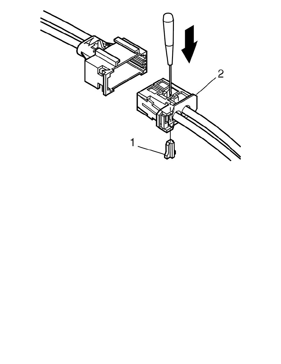
Press out the catch (1) using a screwdriver.

Diagram Information and Instructions|Page 5878 > < Diagram Information and Instructions|Page 5876