S40 L5-2.4L VIN 38 B5244S4 (2004)
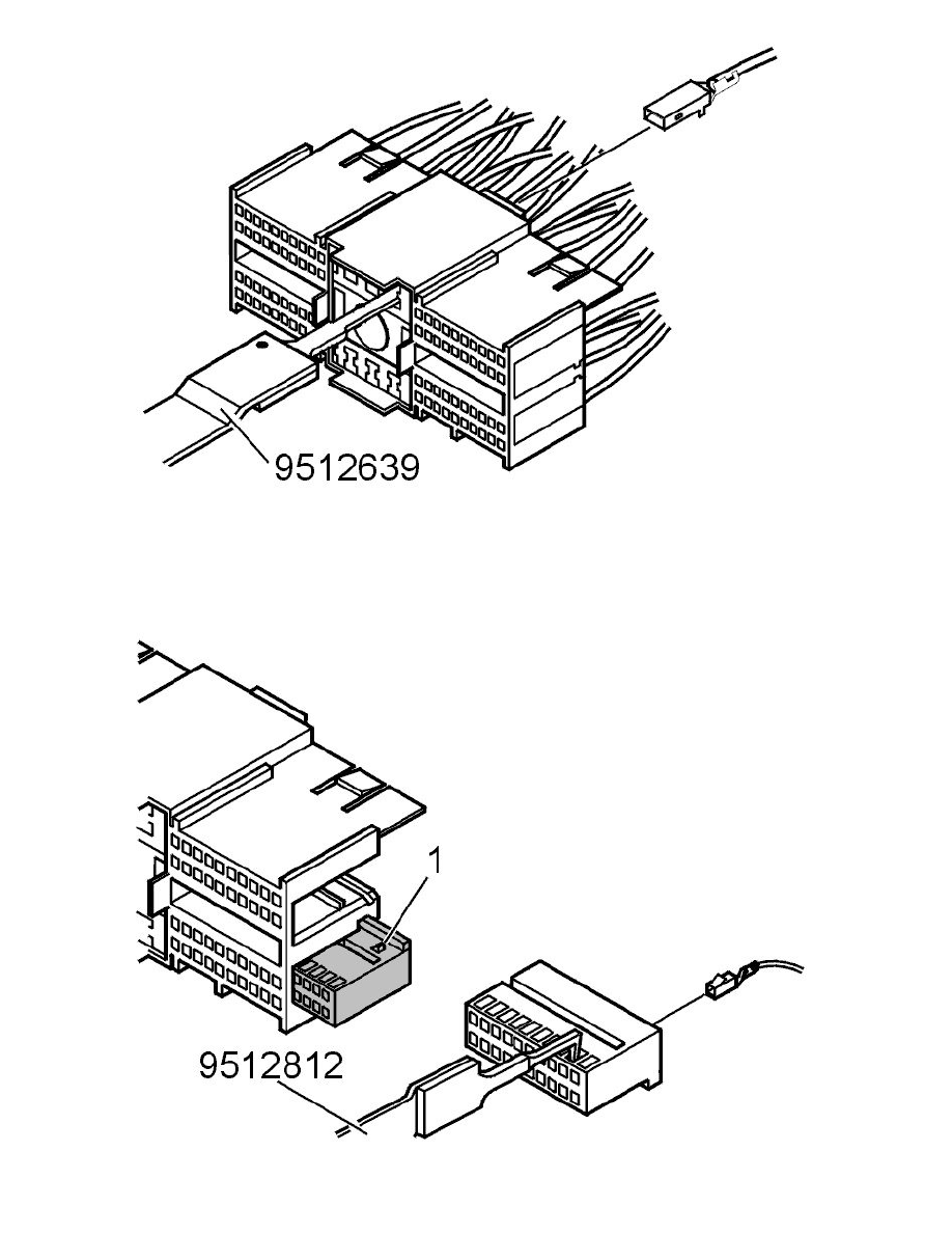
To remove the center cable terminals, use tool: 951 2639 Terminal removal tool See: Tools and Equipment/951 2639 Terminal Removal Tool , see the
illustration.
At the same time pull the cable carefully backwards.
Release the inner housing section on the socket housing by lifting the sleeve beside the catch and pulling the housing section outwards.
Use tool: 951 2812 Terminal removal tool See: Tools and Equipment/951 2812 Terminal Removal Tool or 951 2637 Terminal removal tool See: Tools
