Volvo Workshop Service and Repair Manuals
HOME
FEATURES
MENU
INDEX
ABOUT US
Diagram Information and Instructions|Page 4927 >
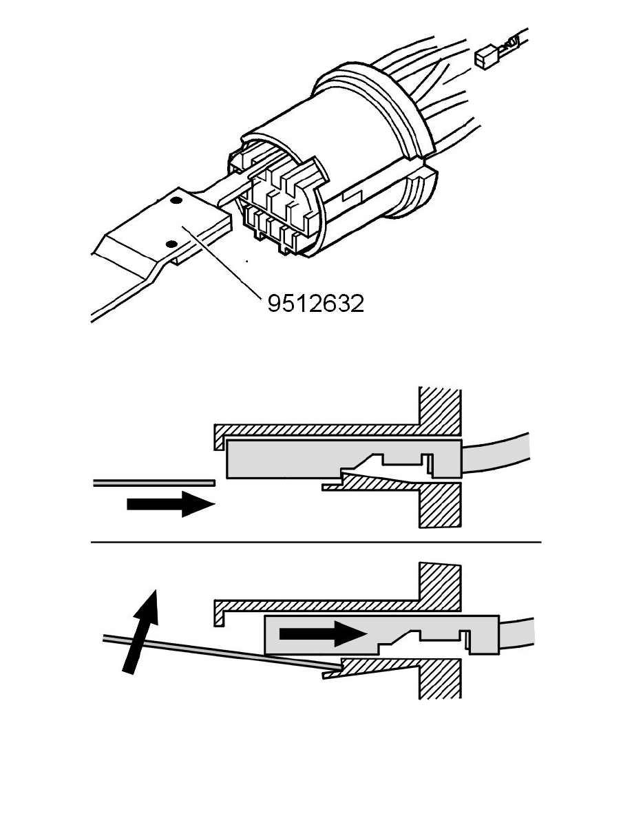
< Diagram Information and Instructions|Page 4925
S60 L5-2.3L Turbo VIN 53 B5234T3 (2004)
Powertrain Management
Computers and Control Systems
Engine Control Module / Component Information
Diagrams / Diagram Information and Instructions
Page 4926
Page 41
Powertrain Management
Computers and Control Systems
Engine Control Module / Component Information
Diagrams / Diagram Information and Instructions
Page 4926
Diagram Information and Instructions|Page 4927 >
< Diagram Information and Instructions|Page 4925