Volvo Workshop Service and Repair Manuals
HOME
FEATURES
MENU
INDEX
ABOUT US
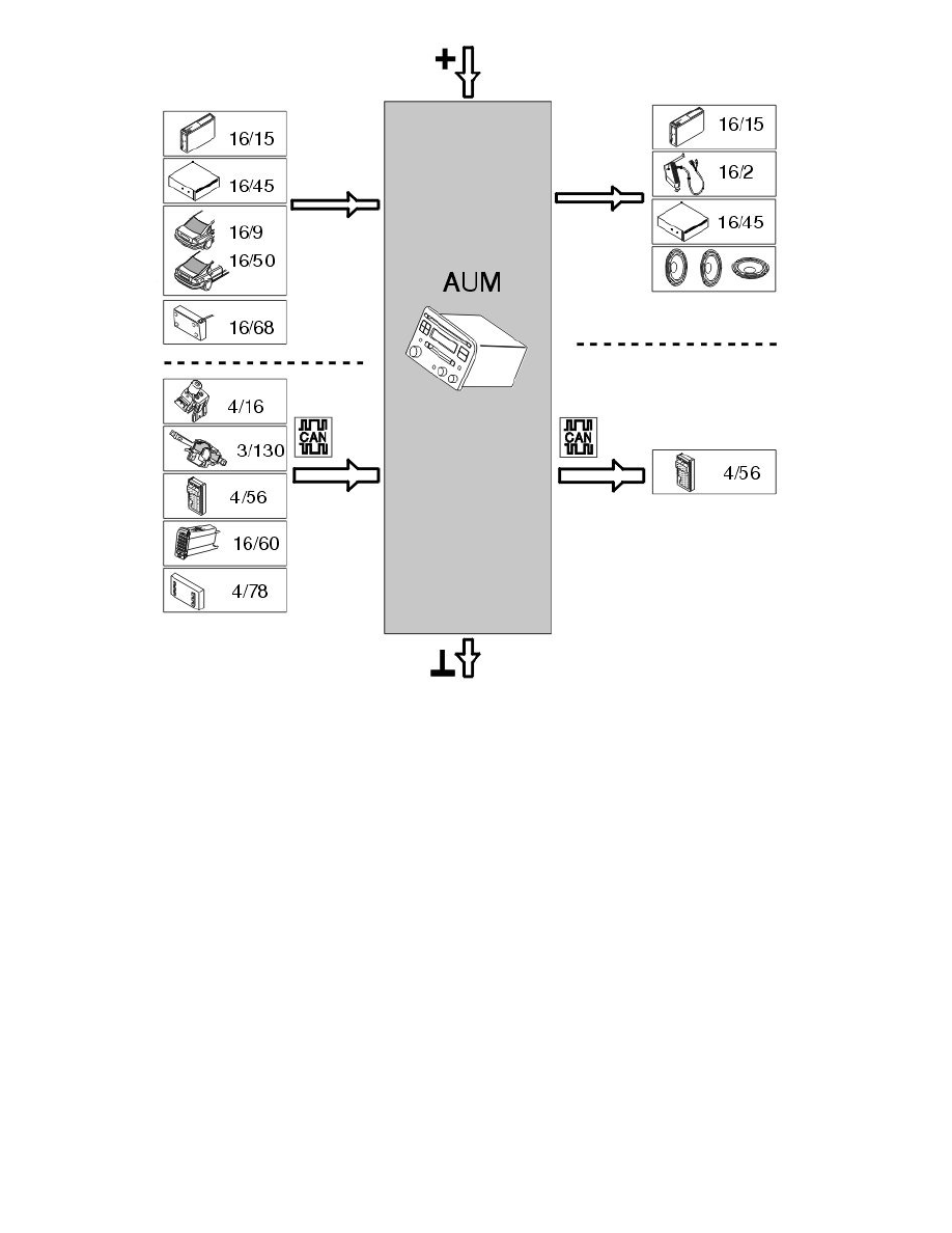
AUM Diagnostic Functions|Page 19089 >
< AUM Diagnostic Functions|Page 19087
S60 2.5T L5-2.5L Turbo VIN 59 B5254T2 (2006)
Accessories and Optional Equipment
Relays and Modules - Accessories and Optional Equipment
Communications Control Module / Component Information
Description and Operation / AUM Diagnostic Functions
Page 19088
Page 3
Accessories and Optional Equipment
Relays and Modules - Accessories and Optional Equipment
Communications Control Module / Component Information
Description and Operation / AUM Diagnostic Functions
Page 19088
AUM Diagnostic Functions|Page 19089 >
< AUM Diagnostic Functions|Page 19087