Volvo Workshop Service and Repair Manuals
HOME
FEATURES
MENU
INDEX
ABOUT US
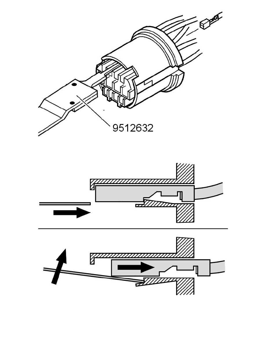
Diagram Information and Instructions|Page 19326 >
< Diagram Information and Instructions|Page 19324
S60 2.5T L5-2.5L Turbo VIN 59 B5254T2 (2006)
Accessories and Optional Equipment
Sensors and Switches - Accessories and Optional Equipment
Arm/Disarm Switch, Antitheft / Diagrams / Diagram Information and Instructions
Page 19325
Page 42
Accessories and Optional Equipment
Sensors and Switches - Accessories and Optional Equipment
Arm/Disarm Switch, Antitheft / Diagrams / Diagram Information and Instructions
Page 19325
Diagram Information and Instructions|Page 19326 >
< Diagram Information and Instructions|Page 19324