Volvo Workshop Service and Repair Manuals
HOME
FEATURES
MENU
INDEX
ABOUT US
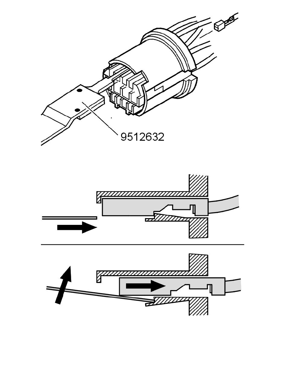
Diagram Information and Instructions|Page 19632 >
< Diagram Information and Instructions|Page 19630
S60 2.5T L5-2.5L Turbo VIN 59 B5254T2 (2006)
Accessories and Optional Equipment
Towing / Trailer System / Trailer Connector / Diagrams / Diagram Information and Instructions
Page 19631
Page 42
Accessories and Optional Equipment
Towing / Trailer System / Trailer Connector / Diagrams / Diagram Information and Instructions
Page 19631
Diagram Information and Instructions|Page 19632 >
< Diagram Information and Instructions|Page 19630