Volvo Workshop Service and Repair Manuals
HOME
FEATURES
MENU
INDEX
ABOUT US
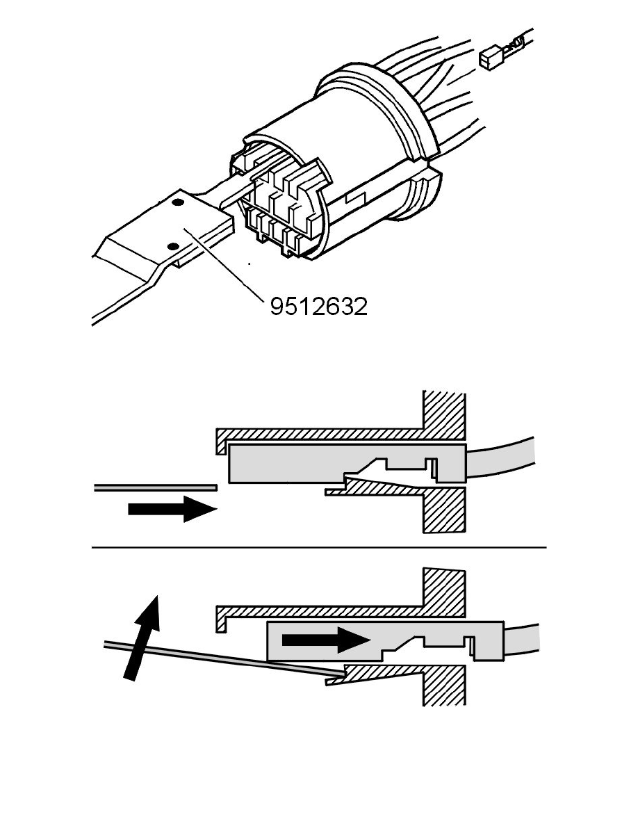
Diagram Information and Instructions|Page 20200 >
< Diagram Information and Instructions|Page 20198
S60 2.5T L5-2.5L Turbo VIN 59 B5254T2 (2006)
Accessories and Optional Equipment
Trailer Connector / Diagrams / Diagram Information and Instructions
Page 20199
Page 42
Accessories and Optional Equipment
Trailer Connector / Diagrams / Diagram Information and Instructions
Page 20199
Diagram Information and Instructions|Page 20200 >
< Diagram Information and Instructions|Page 20198