volvo Workshop Repair Guides

Volvo Workshop Service and Repair Manuals

Front Fender Liner|Service and Repair|Page 20719 > < Front Fender Liner|Service and Repair
Page 2
background image

-

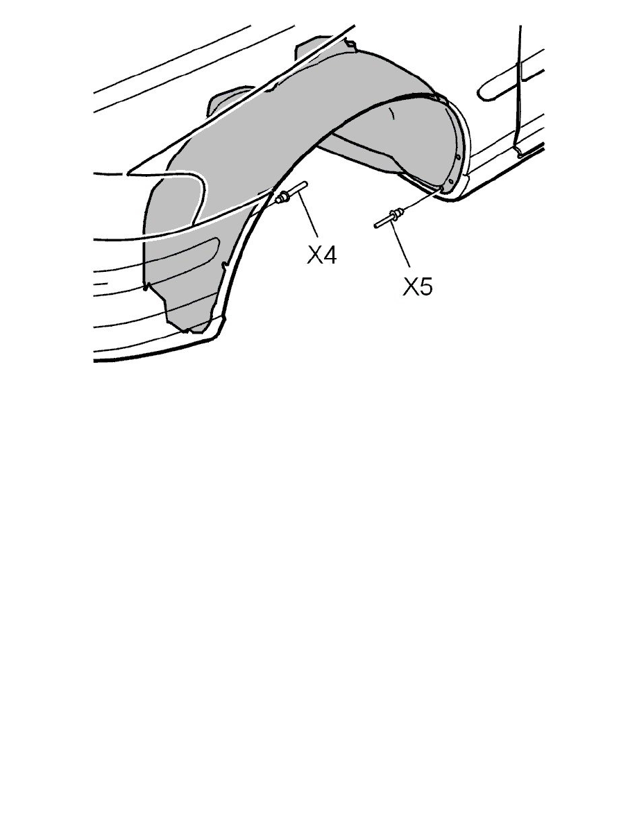
Remove the protective plate

-

Angle up the cover. Tape the cover in position whilst carry out work.

Remove:

-

the four blind rivets at the front edge

-

the five blind rivets at the rear edge.

Front Fender Liner|Service and Repair|Page 20719 > < Front Fender Liner|Service and Repair