S60 2.5T L5-2.5L Turbo VIN 59 B5254T2 (2006)
Remove nut from pedal mounting screw.
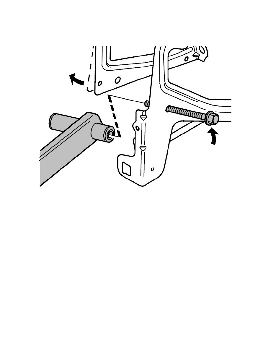
Pull out screw to the right and position screw at an angle upwards in the bracket.
Fold up the brake pedal, past the stop lamp switch mounting and up towards the lower section of the dashboard.
Continue removing the brake pedal
Fold the bracket up. Pull the brake pedal downwards at an angle so that it releases from the screw and bracket.
Replace the bushings in the brake pedal
