Volvo Workshop Service and Repair Manuals
HOME
FEATURES
MENU
INDEX
ABOUT US
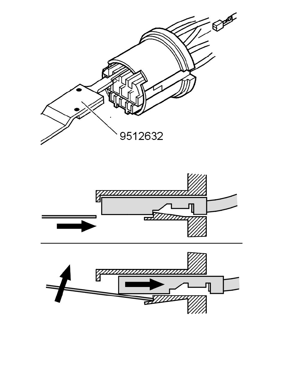
Diagram Information and Instructions|Page 24614 >
< Diagram Information and Instructions|Page 24612
S60 2.5T L5-2.5L Turbo VIN 59 B5254T2 (2006)
Lighting and Horns
Trailer Lamps / Diagrams / Diagram Information and Instructions
Page 24613
Page 42
Lighting and Horns
Trailer Lamps / Diagrams / Diagram Information and Instructions
Page 24613
Diagram Information and Instructions|Page 24614 >
< Diagram Information and Instructions|Page 24612