Volvo Workshop Service and Repair Manuals
HOME
FEATURES
MENU
INDEX
ABOUT US
Diagram Information and Instructions|Page 7792 >
< Diagram Information and Instructions|Page 7790
S60 2.5T L5-2.5L Turbo VIN 59 B5254T2 (2006)
Powertrain Management
Computers and Control Systems
Oxygen Sensor / Component Information
Diagrams / Diagram Information and Instructions
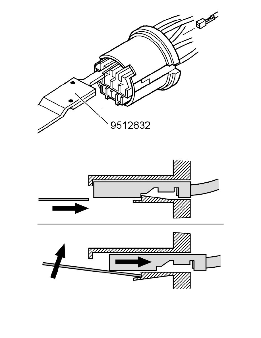
Page 7791
Page 42
Powertrain Management
Computers and Control Systems
Oxygen Sensor / Component Information
Diagrams / Diagram Information and Instructions
Page 7791
Diagram Information and Instructions|Page 7792 >
< Diagram Information and Instructions|Page 7790