Volvo Workshop Service and Repair Manuals
HOME
FEATURES
MENU
INDEX
ABOUT US
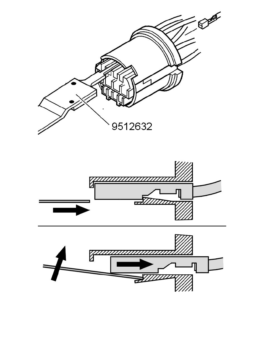
Diagram Information and Instructions|Page 8453 >
< Diagram Information and Instructions|Page 8451
S60 2.5T L5-2.5L Turbo VIN 59 B5254T2 (2006)
Powertrain Management
Computers and Control Systems
Sensors and Switches - Computers and Control Systems
Oxygen Sensor / Component Information
Diagrams / Diagram Information and Instructions
Page 8452
Page 42
Powertrain Management
Computers and Control Systems
Sensors and Switches - Computers and Control Systems
Oxygen Sensor / Component Information
Diagrams / Diagram Information and Instructions
Page 8452
Diagram Information and Instructions|Page 8453 >
< Diagram Information and Instructions|Page 8451