Volvo Workshop Service and Repair Manuals
HOME
FEATURES
MENU
INDEX
ABOUT US
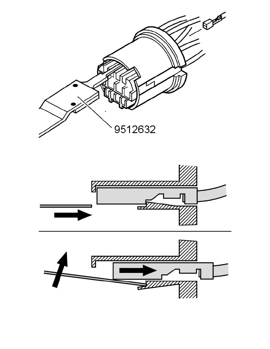
Diagram Information and Instructions|Page 8975 >
< Diagram Information and Instructions|Page 8973
S60 2.5T L5-2.5L Turbo VIN 59 B5254T2 (2006)
Powertrain Management
Emission Control Systems
Relays and Modules - Emission Control Systems / Air Injection Pump Relay / Diagrams / Diagram Information and Instructions
Page 8974
Page 42
Powertrain Management
Emission Control Systems
Relays and Modules - Emission Control Systems / Air Injection Pump Relay / Diagrams / Diagram Information and Instructions
Page 8974
Diagram Information and Instructions|Page 8975 >
< Diagram Information and Instructions|Page 8973