Volvo Workshop Service and Repair Manuals
HOME
FEATURES
MENU
INDEX
ABOUT US
Diagram Information and Instructions|Page 2754 >
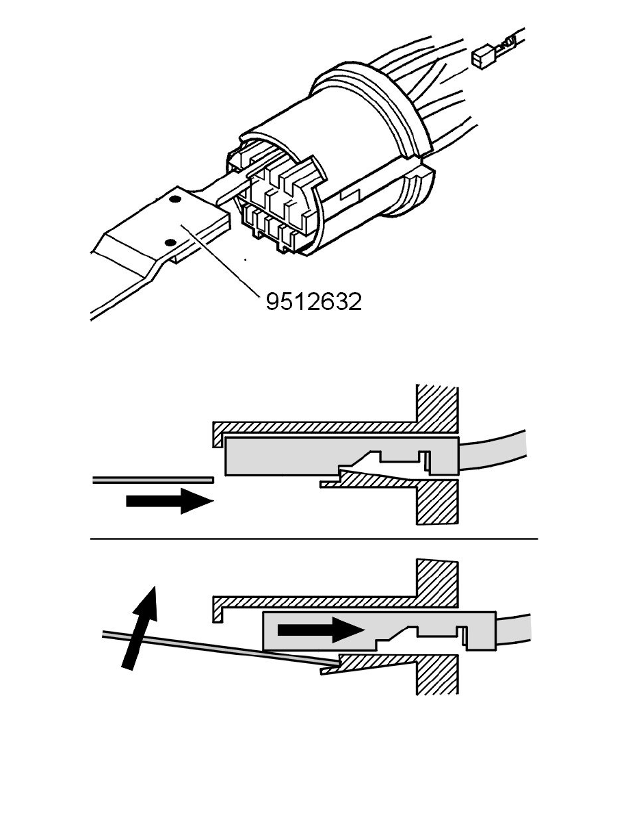
< Diagram Information and Instructions|Page 2752
S60 2.5T L5-2.5L Turbo VIN 59 B5254T2 (2006)
Sensors and Switches
Sensors and Switches - Lighting and Horns
Brake Light Switch / Diagrams / Diagram Information and Instructions
Page 2753
Page 42
Sensors and Switches
Sensors and Switches - Lighting and Horns
Brake Light Switch / Diagrams / Diagram Information and Instructions
Page 2753
Diagram Information and Instructions|Page 2754 >
< Diagram Information and Instructions|Page 2752