Volvo Workshop Service and Repair Manuals
HOME
FEATURES
MENU
INDEX
ABOUT US
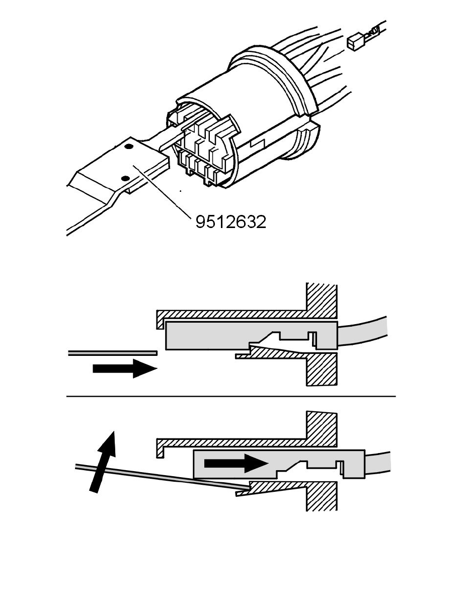
Diagram Information and Instructions|Page 12133 >
< Diagram Information and Instructions|Page 12131
S60 2.5T L5-2.5L Turbo VIN 59 B5254T2 (2006)
Starting and Charging
Power and Ground Distribution
Branching Point / Diagrams / Diagram Information and Instructions
Page 12132
Page 42
Starting and Charging
Power and Ground Distribution
Branching Point / Diagrams / Diagram Information and Instructions
Page 12132
Diagram Information and Instructions|Page 12133 >
< Diagram Information and Instructions|Page 12131